Запчасти Case IH 8545 (3-14) - WINDGUARD ASSEMBLY - PICKUP Pickup

Схема запчастей Case IH 8545 - (3-14) - WINDGUARD ASSEMBLY - PICKUP Pickup
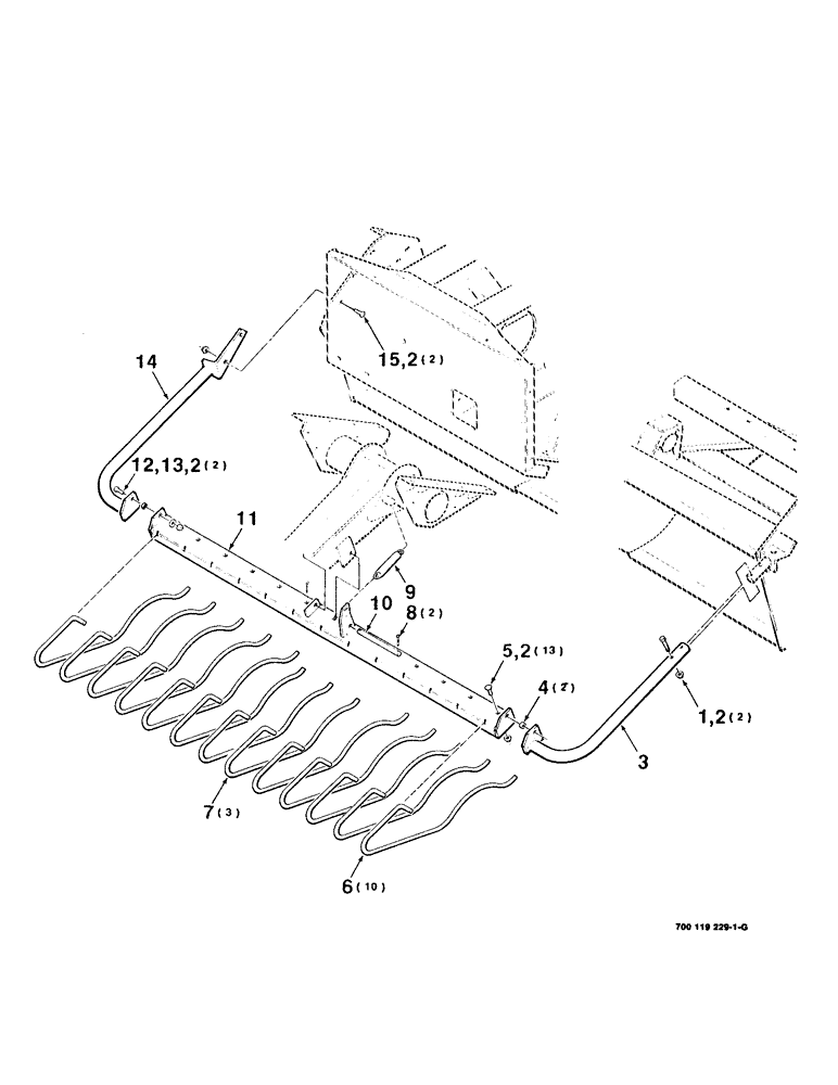
13
2
12
1
7
4
6
2
3
15
9
11
2
14
5
2
10
FIT
1:1
100%

Артикул

Название

Примечание

Количество

1

413-628

BOLT,Hex, 3/8" - 16 x 1-3/4", Gr 5

2шт.

2

232-5316

FLANGE NUT,Flg, 3/8"-16

3/8-16 HFTLN GR/G

19шт.

3

700119816

SHIELD

ARM - support, left

1шт.

4

6823769

SPACER

2шт.

5

433-620

CARRIAGE BOLT,Sq Nk, 3/8" - 16 x 1 1/4", Gr 5

BOLT, CARRIAGE, Short NK, 3/8"-16 x 1 1/4", G5

13шт.

6

700709004

TINE

- outer

10шт.

7

700709003

TINE

- inner

3шт.

8

432-1024

COTTER PIN,5/32" x 1 1/2"

5/32" x 1 1/2"

2шт.

9

7758220

SPRING

- tension

1шт.

10

700119366

PIN

- center

1шт.

11

700119337

SUPPORT

- tine

1шт.

12

413-616

BOLT,Hex, 3/8" - 16 x 1", Gr 5

2шт.

13

495-11041

WASHER,0.406" ID x 0.812" OD x 0.065" W

2шт.

14

700119812

SHIELD

ARM - support, right

1шт.

15

434-616

CARRIAGE BOLT,Sht Sq Nk, 3/8" - 16 x 1", Gr 5

3/8-16 x 1 RHSNB

2шт.

Выбрано товаров: 15