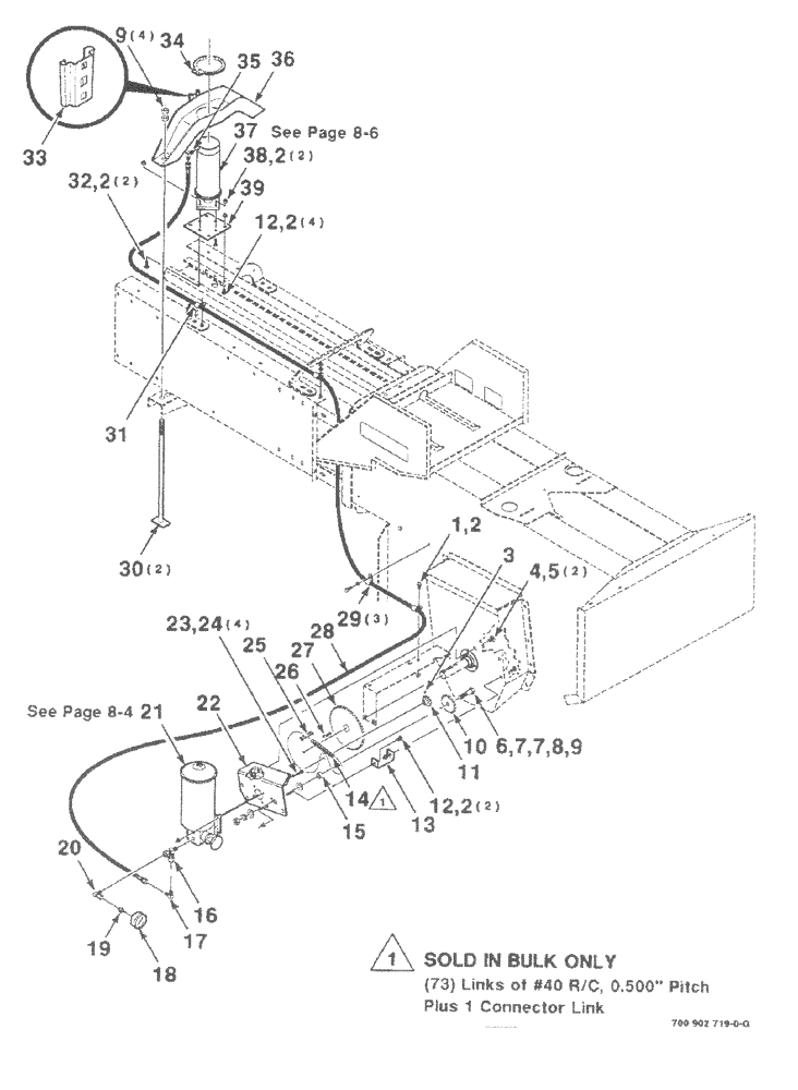
Запчасти Case IH 8545 (8-02) - HYDRAULIC BALE TENSIONER ASSEMBLY (07) - HYDRAULICS

Схема запчастей Case IH 8545 - (8-02) - HYDRAULIC BALE TENSIONER ASSEMBLY (07) - HYDRAULICS
14
9
4
32
18
8
15
7
19
7
20
38
31
2
9
5
2
13
34
35
29
25
12
22
21
12
2
17
36
2
33
3
39
26
11
28
1
2
6
16
24
30
37
10
23
27
FIT
1:1
100%

Артикул

Название

Примечание

Количество

1

413-612

BOLT,Hex, 3/8" - 16 x 3/4", Gr 5

2шт.

2

231-5146

FLANGE NUT,3/8"-16

22шт.

3

83-1256

SET SCREW,Hex Soc, 1/4"-20 x 3/8"

1/4-20 x 3/8 CPHSSS NP

2шт.

4

433-816

CARRIAGE BOLT,Sq Nk, 1/2" - 13 x 1", Gr 5

1/2-13 x 1 RHSNB

4шт.

5

231-5148

FLANGE NUT,Flg, USR, 1/2"-13

4шт.

6

413-1040

BOLT,Hex, 5/8" - 11 x 2-1/2", Gr 5

2шт.

7

396-21066

WASHER,16.66mm ID x 33.33mm OD x 4.27mm Thk

- 5/8" bolt size 21/32" x 1 5/16" x .150", HDN

4шт.

8

492-11062

BEARING WASHER,5/8"

WASHER, LOCK, 5/8"

2шт.

9

425-1010

NUT,5/8"-11, G5

10шт.

10

820963C91

SPROCKET

idler

1шт.

11

7851082

SPROCKET ASSY.

SPROCKET 40B10

2шт.

12

433-612

CARRIAGE BOLT,Sq Nk, 3/8" - 16 x 3/4", Gr 5

12шт.

13

700136685

SUPPORT

1шт.

14

1790D

CHAIN (AG)

CHAIN roller #40, (10 foot bulk)

1шт.

15

320993R1

SPACER,7/8" Tube x 1/2"

2шт.

16

217-1063

TEE,3/8" - 18 Female x 3/8" - 18 Male Run

male run

2шт.

17

218-1053

ELBOW,90 Degree, 9/16"-18, 37 Degree x 3/8"-18, NPTF

90°

2шт.

18

700703817

GAUGE

pressure

1шт.

19

221-86

REDUCER,Hex, 3/8" x 1/4" NPT

BUSHING reducer

2шт.

20

217-1016

ELBOW,3/8" - 18 Female x 3/8" - 18 Male

3/8 street

2шт.

21

7892128

VALVE

PUMP ASSEMBLY hydraulic

1шт.

22

700136684

SUPPORT

pump

1шт.

23

121-108

BOLT,Hex Flg, 5/16"-18 x 1 1/4", Serr

5/16-18 x 1 HWHMS

8шт.

24

231-5145

SERRATED NUT,Flg, USR, 5/16"-18

NUT, Flg, USR, 5/16"-18

8шт.

25

241-1314

CHAIN LINK

LINK connector #40

2шт.

26

61424

KEY

gib, 1/4 x 1-1/4

2шт.

27

700112643

SPROCKET ASSY.

SPROCKET, 46 tooth

1шт.

28

700706300

FLEXIBLE HOSE

HOSE - hydraulic

1шт.

29

515-23159

CLAMP,5/8", Insul, 3/8" Bolt

6шт.

30

700112641

BOX

WA tension

2шт.

31

700703825

CLAMP

hose

2шт.

32

433-620

CARRIAGE BOLT,Sq Nk, 3/8" - 16 x 1 1/4", Gr 5

BOLT, CARRIAGE, Short NK, 3/8"-16 x 1 1/4", G5

4шт.

33

A59457

BRACKET

1шт.

34

7852148

RING, SNAP

RING retainer

2шт.

35

218-483

ELBOW,90 Degree Elbow, 9/16" - 18 Male JIC x 1/4" - 18 Male NPTF

90°

2шт.

36

700108433

SUPPORT

WA

1шт.

37

700703899

CYLINDER

hydraulic, tensioner

1шт.

38

413-616

BOLT,Hex, 3/8" - 16 x 1", Gr 5

4шт.

39

700119498

LARGE PLATE

PLATE rail

1шт.

Выбрано товаров: 39