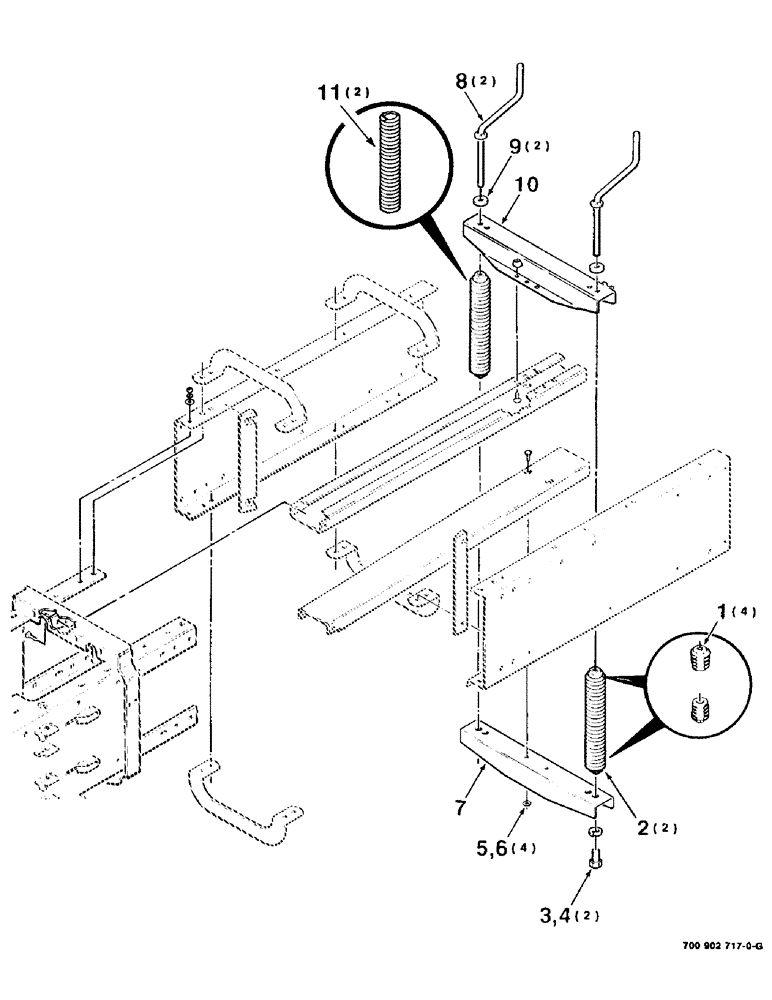
Запчасти Case IH 8545 (7-08) - MECHANICAL BALE TENSIONER ASSEMBLY (12) - MAIN FRAME

Схема запчастей Case IH 8545 - (7-08) - MECHANICAL BALE TENSIONER ASSEMBLY (12) - MAIN FRAME
3
8
11
9
5
2
6
7
1
10
4
FIT
1:1
100%

Артикул

Название

Примечание

Количество

1

700121906

PLUG

- spring

4шт.

2

6554356

SPRING

ASSEMBLY (Includes Item 1)

2шт.

3

413-1224

BOLT,Hex, 3/4" - 10 x 1-1/2", Gr 5

3/4-10 X 1-1/2 C

2шт.

4

492-11075

LOCK WASHER,3/4"

3/4"

2шт.

5

111-360

CARRIAGE BOLT,Short NK, 3/8"-16 x 3/4", G5

BOLT, CARRIAGE, Short NK, 3/8"-16 x 3/4", G5

4шт.

6

231-5146

FLANGE NUT,3/8"-16

4шт.

7

6552558

CHANNEL

- lower

1шт.

8

6851695

CRANK

- tension

2шт.

9

700706024

WASHER

- nylon

2шт.

10

700119275

CHANNEL

- upper

1шт.

11

7758030

SPRING

- extension

2шт.

Выбрано товаров: 11