Запчасти Case IH 8545 (7-12) - SHIELDS AND TWINE BOX ASSEMBLY - RIGHT (12) - MAIN FRAME

Схема запчастей Case IH 8545 - (7-12) - SHIELDS AND TWINE BOX ASSEMBLY - RIGHT (12) - MAIN FRAME
19
5
25
5
16
5
27
4
24
26
17
21
12
29
21
15
11
18
2
6
5
10
5
14
11
22
11
8
10
28
23
7
20
1
3
9
13
FIT
1:1
100%

Артикул

Название

Примечание

Количество

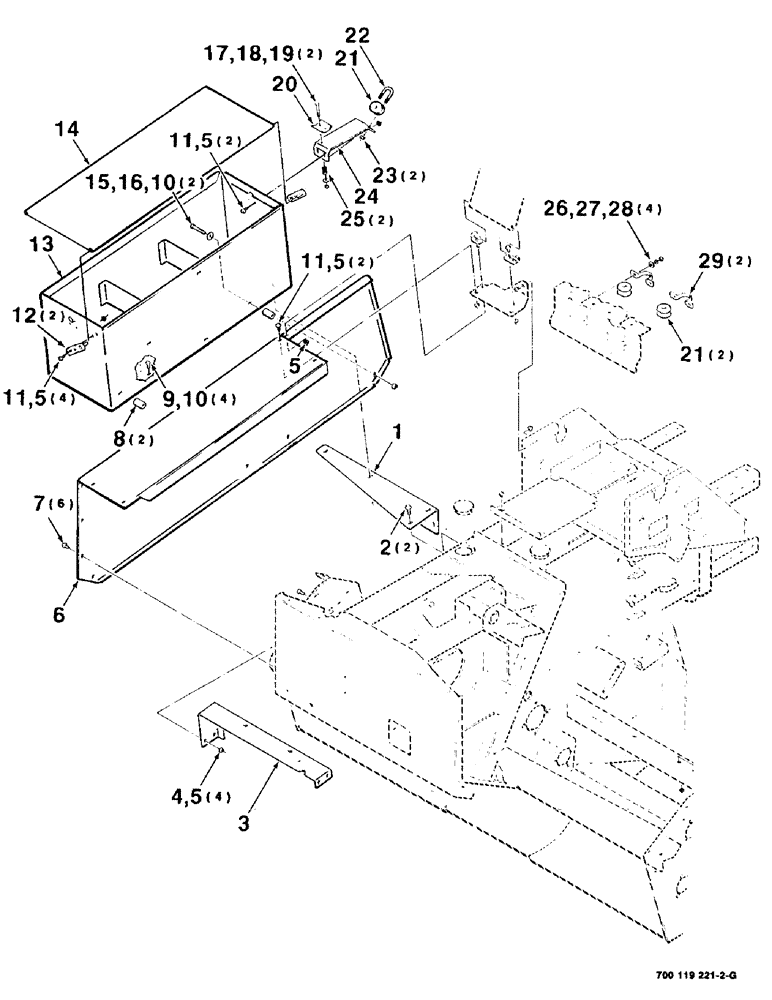
1

700119399

ANGLE

- right

1шт.

2

154273C1

BOLT,Hex Serr, 3/8" - 16 x 1", Spcl

3/8-16 X 1 HFSS

2шт.

3

700119389

SUPPORT

- right

1шт.

4

433-512

CARRIAGE BOLT,Sq Nk, 5/16" - 18 x 3/4", Gr 5

4шт.

5

231-5145

SERRATED NUT,Flg, USR, 5/16"-18

NUT, Flg, USR, 5/16"-18

13шт.

6

700119382

SHIELD

- right

1шт.

7

409-7512

BOLT,Hex Flg, 5/16" - 18 x 3/4", Spcl

Hex Flg, 5/16-18 x 3/4", Serr

6шт.

8

6605315

HUB

SPACER

2шт.

9

409-7612

BOLT,3/8"-16 x 1.09" OAL

3/8-16 X 3/4 HWHMS

4шт.

10

231-5146

FLANGE NUT,3/8"-16

6шт.

11

121-115

SERRATED BOLT,Hex, 5/16" - 18 x 3/4"

8шт.

12

700108543

SUPPORT

HINGE - pivot

2шт.

13

700108537

BOX

- twine

1шт.

14

700108541

LID

- box, twine

1шт.

15

413-636

BOLT,Hex, 3/8" - 16 x 2-1/4", Gr 5

2шт.

16

495-11041

WASHER,0.406" ID x 0.812" OD x 0.065" W

2шт.

17

113-12

BOLT,Hex, 1/4" - 20 x 2-1/2", Gr 5

1/4-20 X 2-1/2 C

2шт.

18

496-11028

WASHER,9/32" x 5/8" x .065, HDN

1/4 HARDENED PLAIN WASHER

2шт.

19

231-1444

NUT,1/4"-20, GB

NUT, LOCK, 1/4"-20, GB

2шт.

20

6549869

SUPPORT

CLAMP - TENSION

1шт.

21

700711131

GUIDE

3шт.

22

51200861

U-BOLT

5/16-18 U-BOLT

1шт.

23

230-4215

NUT,5/16"-18, GA

5/16-18 HCLN

2шт.

24

700119383

SUPPORT

- tension, twine

1шт.

25

58925

SPRING

- compression

2шт.

26

496-21034

WASHER,11/32" x 11/16" x 0.89", HDN

4шт.

27

492-11031

LOCK WASHER,5/16"

WASHER, LOCK, 5/16"

4шт.

28

425-105

NUT,5/16"-18, G5

4шт.

29

700122493

SUPPORT

- guide

2шт.

Выбрано товаров: 29