Запчасти Case IH 8550 (59) - BALE CHUTE, QUARTER TURN, KIT (70) - EJECTION

Схема запчастей Case IH 8550 - (59) - BALE CHUTE, QUARTER TURN, KIT (70) - EJECTION
4
2
8
5
6
3
3
1
7
9
FIT
1:1
100%

Артикул

Название

Примечание

Количество

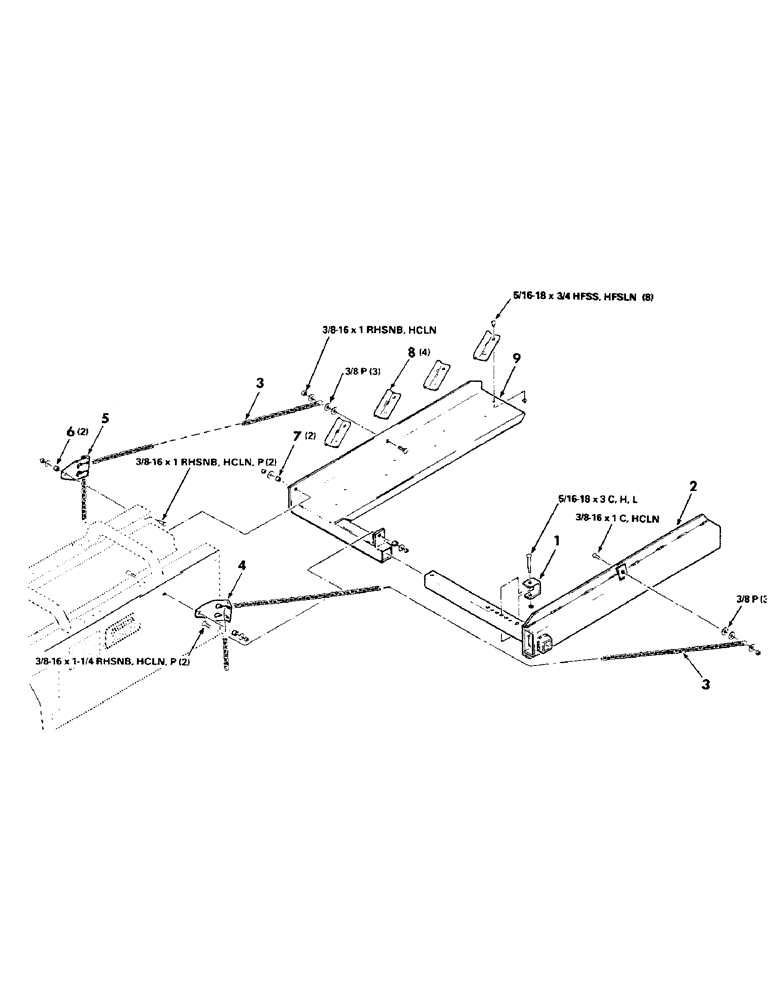
HK50391

EXTENSION

BALE CHUTE (Quarter turn) kit complete

1шт.

1

700108714

STOP

- extension

1шт.

2

700112628

CHUTE ASSY.

CHUTE - bale, left

1шт.

3

6450183

CHAIN (AG)

CHAIN - chute, left

2шт.

4

6856538

BRACKET

- chain, angled

1шт.

5

6859102

BRACKET

- chain

1шт.

6

6475495

BUSHING

SPACER

2шт.

7

6559876

CHAIN (AG)

CHAIN - chute, right

1шт.

8

6856512

SPACER

(.551" Long)

2шт.

9

6856520

ANGLE

- guide

4шт.

10

700112635

CHUTE (DOWNWARD)

CHUTE - bale, right

1шт.

700054

CARRIAGE BOLT,Sq Nk, 3/8" - 16 x 1 1/4", Gr 5

3/8-16 X 1-1/4 RHSNB

2шт.

700047

BOLT

3/8-16 X 1 RHSNB

3шт.

703249

BOLT,Hex, 3/8" - 16 x 1", Gr 5

3/8-16 x 1 C

1шт.

7883325

BOLT,Hex, 5/16" - 18 x 3/4", Gr 120M

5/16-18 X 3/4 HWHMS

8шт.

7771751

BOLT,Hex, 5/16" - 18 x 3", Gr 5

5/16-18 X 3 C

1шт.

88902

NUT,3/8"-16

3/8-16 HCLN

6шт.

Выбрано товаров: 17