Запчасти Case IH 8555 (05-06) - STUFFER ASSEMBLY (13) - FEEDER

Схема запчастей Case IH 8555 - (05-06) - STUFFER ASSEMBLY (13) - FEEDER
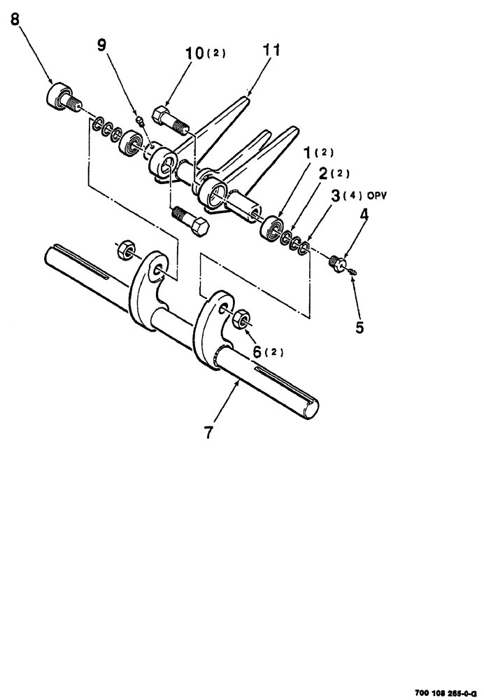
1
5
10
11
6
7
4
8
2
9
3
FIT
1:1
100%

Артикул

Название

Примечание

Количество

1

700703739

BALL BEARING,30mm ID x 62mm OD x 23.8mm W

2шт.

2

700108276

SPACER

2шт.

3

700108278

WASHER

4шт.

4

24172R1

ADAPTER,1" NPT Male x 1/8" NPT Fem

BUSHING reducer

1шт.

5

219-1

LUBE NIPPLE,1/8" - 27 NPTF

1шт.

6

131-21

LOCK NUT,1 1/8"-12, GB

light hex stop, 1-1/8-12

2шт.

7

700108267

SHAFT

WA

1шт.

8

700703946

CAM FOLLOWER

cam

1шт.

9

85-15012

SET SCREW,Sq Hd, 1/2"-13 x 3/4"

set cup point hex socket, 1/2-13 x 3/4

1шт.

10

700108277

BOLT,Spcl, 1 1/8"-12 x 3.543"

special, 1-1/8-12 x 3.54

2шт.

11

700124887

COMPARATORLIP

STUFFER, WA

1шт.

Выбрано товаров: 11