Запчасти Case IH 8570 (4-12) - WORKING LIGHT PACKAGE (06) - ELECTRICAL

Схема запчастей Case IH 8570 - (4-12) - WORKING LIGHT PACKAGE (06) - ELECTRICAL
2
6
1
5
7
10
9
11
8
4
3
FIT
1:1
100%

Артикул

Название

Примечание

Количество

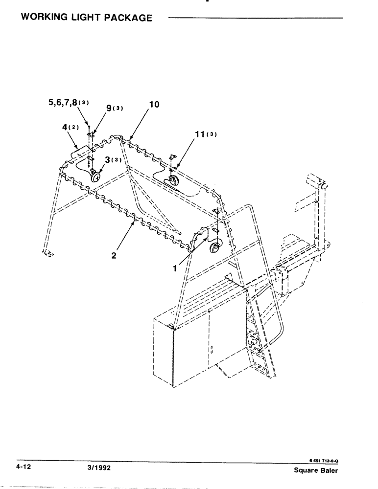
1

41145

ROD, CONNECTING

WIRE - CONNECTOR

1шт.

2

700706502

WIRE

1шт.

3

CAS41624

LAMP

LIGHT

3шт.

4

41681

ROD, CONNECTING

WIRE - CONNECTOR

2шт.

5

703249

BOLT,Hex, 3/8" - 16 x 1", Gr 5

3/8-16 x 1 C

3шт.

6

705533

WASHER

3/8 HARDENED PLAIN WASHER

3шт.

7

705038

CONTROL VALVE

3/8"

3шт.

8

704023

NUT,3/8"-16, G5

3/8-16 H

3шт.

9

6529739

CLAMP

3шт.

10

700706501

WIRE

1шт.

11

6529747

STRAP

STRAP

3шт.

Выбрано товаров: 11