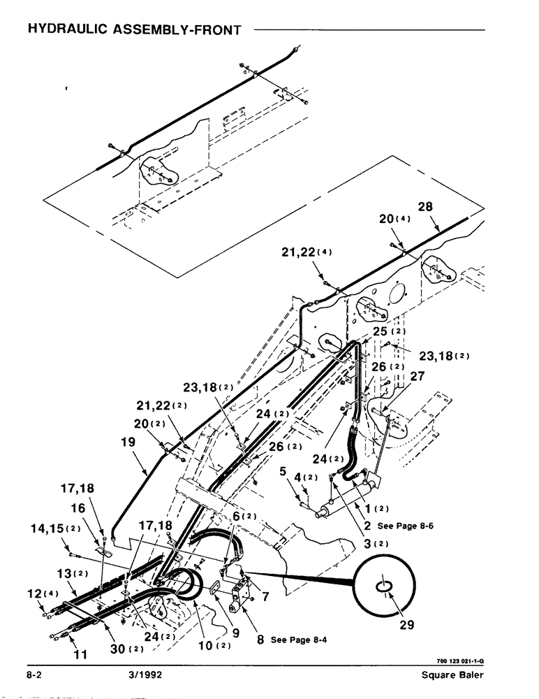
Запчасти Case IH 8570 (8-02) - HYDRAULIC ASSEMBLY, FRONT (07) - HYDRAULICS

Схема запчастей Case IH 8570 - (8-02) - HYDRAULIC ASSEMBLY, FRONT (07) - HYDRAULICS
21
17
27
26
30
22
14
18
18
2
8
24
1
17
13
23
24
28
18
26
4
15
19
5
18
29
20
21
12
23
3
6
7
25
22
9
10
16
11
24
20
FIT
1:1
100%

Артикул

Название

Примечание

Количество

1

7872740

HOSE

- HYDRAULIC

2шт.

2

700712122

CYLINDER

- HYDRAULIC

1шт.

3

7746555

ELBOW

2шт.

4

62182

PIN

5/32 X 1-1/4 COTTER PIN

2шт.

5

63693

PIN

5/8 X 2 CLEVIS PIN

1шт.

6

7792377

ELBOW

7/8-14 X 45 DEGREE ELBOW

2шт.

7

700707841

HYD CONNECTOR

CONNECTOR (Includes Item 29)

1шт.

8

700710638

VALVE

- CONTROL

1шт.

9

700123999

PLATE

- SPACER

1шт.

10

700710067

HYDRAULIC HOSE,6.35 mm ID x 2000.00 mm, SAE 100R7

6.35 mm ID x 2000.00 mm, SAE 100R7

2шт.

11

7846389

RESTRICTOR

1шт.

12

746677

CAP

4шт.

13

700710060

HOSE

- HYDRAULIC

2шт.

14

702928

BOLT,Hex, 3/8" - 16 x 2 3/4", Gr 5

3/8-16 X 2-3/4 C

2шт.

15

231-4116

NUT,3/8"-16, GB

3/8-16 HTLN GR/B

2шт.

16

451641

CLAMP

1шт.

17

703603

SCREW

3/8-16 X 1-1/2 C

2шт.

18

704734

FLANGE NUT,Flg, 3/8"-16

3/8-16 HFTLN GR/G

6шт.

19

700710064

TUBE

LINE - HYDRAULIC

1шт.

20

751628

CLAMP

1/4 CLAMP

6шт.

21

7883333

BOLT,Hex, 5/16" - 18 x 1", Gr 120M

5/16-18 X 1 HWHMS

6шт.

22

704726

LOCK NUT,Flg, 5/16"-18

5/16-18 HFTLN GR/G

6шт.

23

413-628

BOLT,Hex, 3/8" - 16 x 1-3/4", Gr 5

3/8-16 X 1-3/4 C

4шт.

24

6280036

CLAMP

6шт.

25

700710063

TUBE

LINE - HYDRAULIC

2шт.

26

CAS727958

PAD

4шт.

27

63495

CLIP

5/8 X 2-1/2 CLEVIS PIN

1шт.

28

700710065

TUBE

LINE - HYDRAULIC

1шт.

29

738468

O-RING

1шт.

30

529070

CABLE TIE,368.3mm L

TIE - NYLON

2шт.

Выбрано товаров: 30