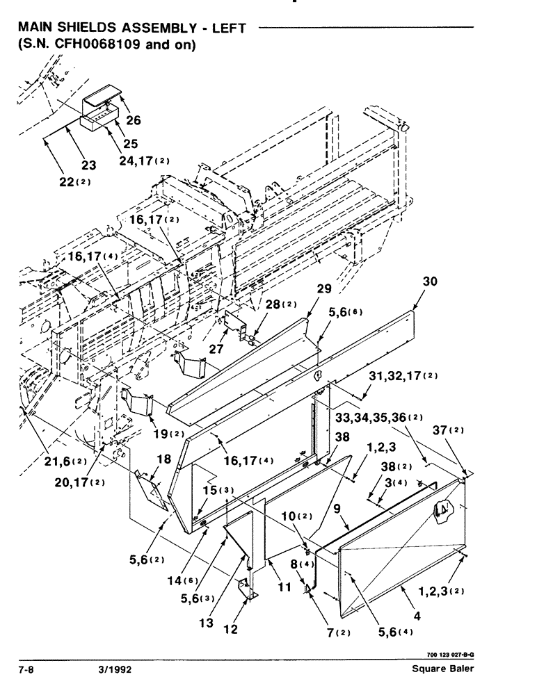
Запчасти Case IH 8570 (7-08) - MAIN SHIELDS ASSEMBLY, LEFT, SERIAL NO. CFH0068109 AND ON (12) - MAIN FRAME

Схема запчастей Case IH 8570 - (7-08) - MAIN SHIELDS ASSEMBLY, LEFT, SERIAL NO. CFH0068109 AND ON (12) - MAIN FRAME
24
7
32
3
17
9
18
3
21
12
4
38
2
23
6
25
36
38
16
11
15
19
14
22
3
17
33
8
5
1
16
26
17
17
6
34
6
31
28
2
27
1
13
20
17
6
6
37
5
10
5
35
5
30
29
16
17
FIT
1:1
100%

Артикул

Название

Примечание

Количество

1

700704838

SCREW

#10-32 X 1/2 CRPHMS GR2

3шт.

2

705004

LOCK WASHER

#10 L

3шт.

3

705640

WASHER

#10 PLAIN WASHER

7шт.

4

700123958

SUPPORT

PANEL WA - DOOR

1шт.

5

7883325

BOLT,Hex, 5/16" - 18 x 3/4", Gr 120M

5/16-18 X 3/4 HWHMS

15шт.

6

231-5145

SERRATED NUT,Flg, USR, 5/16"-18

5/16-18 HFSLN GR/F

17шт.

7

700113992

GUIDE

2шт.

8

62075

PIN

1/8 X 3/4 COTTER PIN

4шт.

9

700123960

ROD

1шт.

10

700123961

MOUNTING PARTS

MOUNTING - SUPPORT

2шт.

11

700123952

SHIELD

- LOWER, LEFT

1шт.

12

700123205

SUPPORT

WA - LEFT

1шт.

13

700123947

SHIELD

- LOWER, LEFT

1шт.

14

1705912

SCREW,#8 - 18 x 1/2"

#8-18 X 1/2 CRTHTFTS

6шт.

15

700710676

CONTAINER

RECEIVER - STUD

3шт.

16

7883382

BOLT,Hex, 3/8" - 16 x 1", Gr 120M

3/8-16 X 1 HWHMS

10шт.

17

704247

NUT

3/8-16 HFSLN GR/F

16шт.

18

700123949

PANEL

- SHIELD

1шт.

19

700123951

ANGLE

2шт.

20

700047

BOLT

3/8-16 X 1 RHSNB

2шт.

21

7700578

CARRIAGE BOLT,Sht Sq Nk, 5/16" - 18 x 1", Gr 5

5/16-18 X 1 RHSNB

2шт.

22

700707858

SNAP RING

RING - RETAINER

2шт.

23

700108570

ROD

- HINGE

1шт.

24

7883374

SCREW,Hex Washer, 3/8" - 16 x 3/4"

3/8-16 X 3/4 HWHMS

2шт.

25

700108566

TOOL BOX

TOOLBOX WA

1шт.

26

700108569

LID

- TOOL BOX

1шт.

27

700123962

SUPPORT

1шт.

28

700123965

SPACER

2шт.

29

700123244

SHIELD

- LEFT, TOP

1шт.

30

700123931

SHIELD

WA - LEFT

1шт.

31

7701899

BOLT,Hex, 3/8" - 16 x 2 1/2", Gr 5

3/8-16 X 2-1/2 C

2шт.

32

705533

WASHER

3/8 HARDENED PLAIN WASHER

2шт.

33

7703499

BOLT,Hex, 5/16" - 18 x 3/4", Gr 5

5/16-18 X 3/4 C

2шт.

34

705525

WASHER

5/16 HARDENED PLAIN WASHER

2шт.

35

705020

LOCK WASHER

5/16"

2шт.

36

704015

NUT,5/16"-18, G5

5/16-18 H

2шт.

37

6514772

SPACER

2шт.

38

700710675

STUD

- LATCH

3шт.

Выбрано товаров: 38