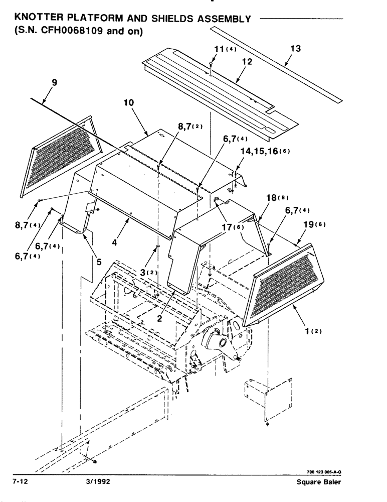
Запчасти Case IH 8570 (7-12) - KNOTTER PLATFORM AND SHIELDS ASSEMBLY, SERIAL NO. CFH0068109 AND ON (12) - MAIN FRAME

Схема запчастей Case IH 8570 - (7-12) - KNOTTER PLATFORM AND SHIELDS ASSEMBLY, SERIAL NO. CFH0068109 AND ON (12) - MAIN FRAME
17
9
10
14
3
6
6
7
6
7
7
4
19
2
16
7
1
13
12
11
7
6
5
18
8
7
8
15
FIT
1:1
100%

Артикул

Название

Примечание

Количество

1

700123862

SHIELD

CAPS WA - END

2шт.

2

700123472

FUNNEL

FRAME WA - LEFT

1шт.

3

705525

WASHER

5/16 HARDENED PLAIN WASHER

2шт.

4

700123902

SHIELD

1шт.

5

700123473

FUNNEL

FRAME WA - RIGHT

1шт.

6

7883325

BOLT,Hex, 5/16" - 18 x 3/4", Gr 120M

5/16-18 X 3/4 HWHMS

16шт.

7

231-5145

SERRATED NUT,Flg, USR, 5/16"-18

5/16-18 HFSLN GR/F

22шт.

8

7883333

BOLT,Hex, 5/16" - 18 x 1", Gr 120M

5/16-18 X 1 HWHMS

6шт.

9

6854301

PIN

- HINGE

1шт.

10

700123864

SHIELD

- KNOTTER, TOP

1шт.

11

7700065

CARRIAGE BOLT,Sq Nk, 3/8" - 16 x 3/4", Gr 5

3/8-16 X 3/4 RHSNB

4шт.

12

700123910

PLATFORM

ASM. (Includes Safety-Walk)

1шт.

13

6849178

WALL

SAFETY - WALK (10 FOOT)

1шт.

14

700704838

SCREW

#10-32 X 1/2 CRPHMS GR2

6шт.

15

705004

LOCK WASHER

#10 L

6шт.

16

705640

WASHER

#10 PLAIN WASHER

6шт.

17

700710676

CONTAINER

MOUNTING - LATCH

6шт.

18

1705912

SCREW,#8 - 18 x 1/2"

#8-18 X 1/2 SRTHTFTS

8шт.

19

700710675

STUD

- LATCH

6шт.

Выбрано товаров: 19