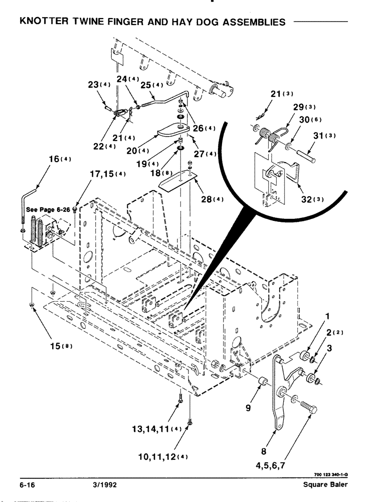
Запчасти Case IH 8570 (6-16) - KNOTTER TWINE FINGER AND HAY DOG ASSEMBLIES (14) - BALE CHAMBER

Схема запчастей Case IH 8570 - (6-16) - KNOTTER TWINE FINGER AND HAY DOG ASSEMBLIES (14) - BALE CHAMBER
3
20
13
25
16
27
15
12
23
1
14
30
5
21
2
21
6
7
29
15
18
10
31
11
9
26
19
11
17
28
8
4
24
32
22
FIT
1:1
100%

Артикул

Название

Примечание

Количество

1

6524870

ROLLER,41.28mm OD x 19mm L

- CLUTCH

1шт.

2

852533

OIL SEAL

SNAP RING - EXTERNAL

2шт.

3

6525042

ROLLER,41.28mm OD x 12.5mm L

- CLUTCH

1шт.

4

7702145

BOLT,3/4" - 10 x 2 1/2", Gr 5

3/4-10 X 2-1/2 C

1шт.

5

700709607

WASHER,3/4"

3/4 WIDE PLAIN WASHER

1шт.

6

705111

LOCK WASHER,3/4"

3/4"

1шт.

7

704528

NUT,3/4"-10, G5

3/4-10 H

1шт.

8

700113362

ARM

WA

1шт.

9

6533012

SPACER

1шт.

10

700047

BOLT

3/8-16 X 1 RHSNB

4шт.

11

705038

CONTROL VALVE

3/8"

8шт.

12

704023

NUT,3/8"-16, G5

3/8-16 H

4шт.

13

768036

CARRIAGE BOLT,Sq Nk, 3/8" - 16 x 1 1/2", Gr 5

3/8-16 X 1-1/2 RHSNB

4шт.

14

700709603

WASHER,3/8"

3/8 WIDE PLAIN WASHER

4шт.

15

704247

NUT

3/8-16 HFSLN GR/F

12шт.

16

702400048

ROD

4шт.

17

7703432

BOLT,Hex, Serr, 3/8" - 16 x 3/4"

3/8-16 X 3/4 HFSS

4шт.

18

8044695

SEAL,15.37mm ID x 30.56mm OD x 1.96mm Thk

8шт.

19

700122681

BUSHING,10.34mm ID x 15.88mm OD x 19.18mm L

BUSHING

4шт.

20

700113345

FINGER

- TWINE

4шт.

21

S120261

PIN

.149 WIRE HAIRPIN COTTER

7шт.

22

213-126

ADJUSTABLE CLEVIS,3/8"-24 x 2 1/2"

3/8-16 CLEVIS

4шт.

23

063586

CLEVIS PIN

3/8 X 1-1/8 CLEVIS PIN

4шт.

24

704197

NUT

3/8-24 HEX JAM NUT

4шт.

25

6523740

ROD

- FINGER

4шт.

26

704064

NUT

3/8-16 HEX JAM NUT

4шт.

27

62075

PIN

1/8 X 3/4 COTTER PIN

4шт.

28

700122682

LARGE PLATE

PLATE - FINGER

4шт.

29

700706376

SPRING

- TORSION

3шт.

30

705582

WASHER

5/8 HARDENED PLAIN WASHER

6шт.

31

700706685

PIN

5/8 X 3-3/4 CLEVIS PIN

3шт.

32

700113344

TRIPDOG

HAY DOG

3шт.

Выбрано товаров: 0