Качественные детали и логистика
Оригинальные и аналоговые запчасти с доставкой по России, Казахстану и Беларуси
©2022 PartSell ООО "Система" ИНН 2463123282 ОГРН 1212400004838
Центральный офис: г. Красноярск, Академика Киренского, д.87, пом.4
Телефон: 8 (800) 777-65-74 Email: zakaz@partsell.ru
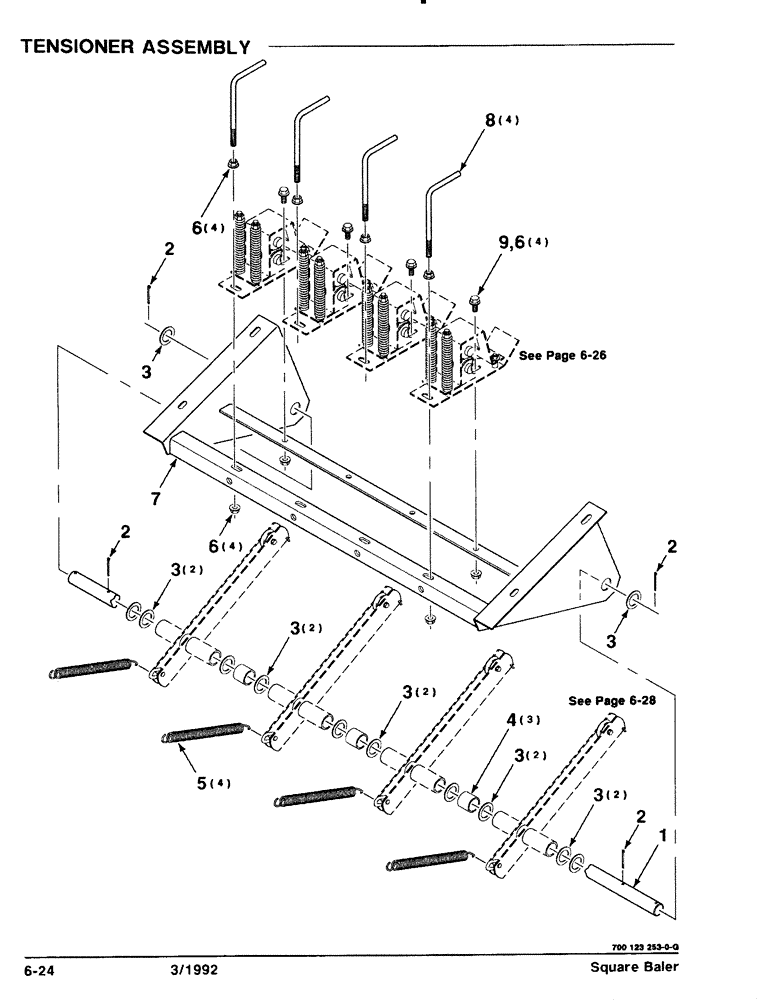
(6-24) - TENSIONER ASSEMBLY
№
Артикул
Название
Примечание
Количество
1
700123260
ROD
1шт.
2
62190
PIN
5/32 X 1-1/2 COTTER PIN
4шт.
3
52258
BUSHING
1 X 14 GAUGE NRMB
12шт.
4
6280085
SPACER
3шт.
5
NLS
NO LONGER SERVICED
- EXTENSION
6
704247
NUT
3/8-16 HFSLN GR/F
7
700123254
SUPPORT
WA
8
702400048
9
7703432
BOLT,Hex, Serr, 3/8" - 16 x 3/4"
3/8-16 X 3/4 HFSS
Выбрано товаров: 0