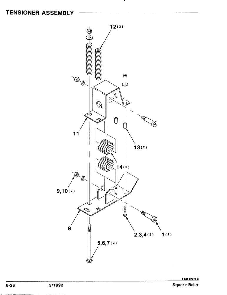
Запчасти Case IH 8570 (6-26) - TENSIONER ASSEMBLY (14) - BALE CHAMBER

Схема запчастей Case IH 8570 - (6-26) - TENSIONER ASSEMBLY (14) - BALE CHAMBER
13
7
8
5
2
14
9
12
11
4
1
10
6
3
FIT
1:1
100%

Артикул

Название

Примечание

Количество

1

8071781

1/2 X 1-1/2 X 3/8 -16 HSHSS (Special) ( replaced 8071781 )

2шт.

2

7703473

BOLT,Hex, 1/4" - 20 x 1 1/4", Gr 5

1/4-20 X 1-1/4 C

2шт.

3

704007

NUT,1/4"-20, G5

1/4-20 H

2шт.

4

700709601

WASHER,1/4"

1/4 WIDE PLAIN WASHER

2шт.

5

7770571

BOLT,Square, 3/8" - 16 x 6"

3/8-16 X 6 RHSNB - SPECIAL

2шт.

6

7704141

EXTENSION

3/8-16 HTLN GR/B

2шт.

7

700709603

WASHER,3/8"

3/8 WIDE PLAIN WASHER

2шт.

8

6845135

PLATE

WA

1шт.

9

704023

NUT,3/8"-16, G5

3/8-16 H

2шт.

10

705038

CONTROL VALVE

3/8"

2шт.

11

6845101

BRACKET

WA

1шт.

12

858027

COMPRESSION SPRING

SPRING - COMPRESSION

2шт.

13

6530828

SPACER

2шт.

14

8802795

GEAR

- TENSION

2шт.

Выбрано товаров: 0