Запчасти Case IH 8575 (6-38) - LUBE RESERVOIR ASSEMBLY, CENTRALIZED (14) - BALE CHAMBER

Схема запчастей Case IH 8575 - (6-38) - LUBE RESERVOIR ASSEMBLY, CENTRALIZED (14) - BALE CHAMBER
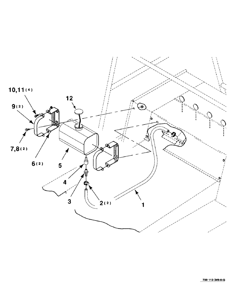
1
2
4
11
7
6
8
3
9
12
5
10
FIT
1:1
100%

Артикул

Название

Примечание

Количество

1

526602R2

HYDRAULIC HOSE,0.55" ID x 12.00"

0.55" ID x 12.00"

1шт.

2

214-1410

HOSE CLAMP,#10, 0.56" - 1.06", Type F Worm

CLAMP, HOSE, #10, 0.56/1.06 Type F Worm

2шт.

3

846915

INSERT

1шт.

4

700706288

ADAPTER

-SEDIMENT TRAP

1шт.

5

700715415

RESERVOIR, HYDRAULIC

RESERVOIR-OIL

1шт.

6

700129433

SUPPORT

WA

2шт.

7

154273C1

BOLT,Hex Serr, 3/8" - 16 x 1", Spcl

3/8-16 X 1 HFSS

2шт.

8

231-5146

FLANGE NUT,3/8"-16

2шт.

9

700129435

STRAP

2шт.

10

413-620

BOLT,Hex, 3/8" - 16 x 1-1/4", Gr 5

C Hex, 3/8"-16 x 1 1/4", G5, Full Thd

4шт.

11

231-4116

NUT,3/8"-16, GB

3/8-16 HTLN GR/B

4шт.

12

700715459

CAP

WITH CHAIN

1шт.

Выбрано товаров: 12