Запчасти Case IH 8575 (2-24) - AUXILIARY DRIVE ASSEMBLY, LEFT Driveline

Схема запчастей Case IH 8575 - (2-24) - AUXILIARY DRIVE ASSEMBLY, LEFT Driveline
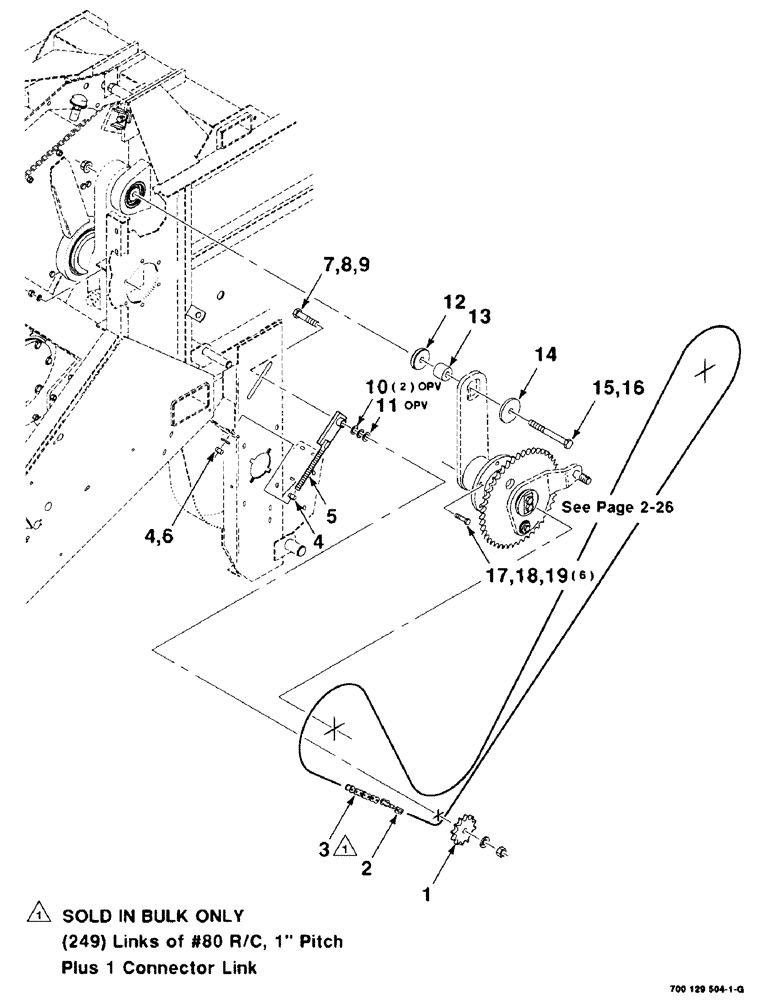
16
17
2
10
19
11
4
7
4
18
13
1
12
15
3
6
9
5
14
8
FIT
1:1
100%

Артикул

Название

Примечание

Количество

1

51200277

SPROCKET ASSY.

SPROCKET - IDLER

1шт.

2

241-4418

LINK

-CONNECTOR, #80 R/C

1шт.

3

654437R91

CHAIN (AG)

CHAIN-ROLLER, #80 (10 FOOT BULK)

1шт.

4

425-1010

NUT,5/8"-11, G5

2шт.

5

700123337

SPECIAL BOLT

DRAW BOLT WA

1шт.

6

396-21066

WASHER,16.66mm ID x 33.33mm OD x 4.27mm Thk

- 5/8" bolt size 21/32" x 1 5/16" x .150", HDN

1шт.

7

326-1256

BOLT,Hex, 3/4" - 10 x 3-1/2", Gr 8

1шт.

8

492-11075

LOCK WASHER,3/4"

3/4"

1шт.

9

425-1012

NUT,3/4"-10, G5

3/4-10 H

1шт.

10

52183

BUSHING

3/4 X 18 GAUGE NRMB

2шт.

11

95-81182

WASHER,0.81" ID x 1.25" OD x 0.07" Thk

3/4 X 14 GAUGE NRMB

1шт.

12

700123122

WASHER

- SPECIAL

1шт.

13

700123335

BUSHING

1шт.

14

6579106

LARGE PLATE

CAP - PLATE

1шт.

15

413-12112

BOLT,Hex, 3/4" - 10 x 7", Gr 5

3/4-10 X 7 C

1шт.

16

232-41112

NUT,3/4"-10, GC

NUT, LOCK, 3/4"-10, GC

1шт.

17

413-8320

1/2-13 X 2 C

6шт.

18

80679

LOCK WASHER,1/20.507 CST ZND

WASHER, LOCK, 1/2"

6шт.

19

425-108

NUT,1/2" - 13, Gr 5

NUT, , Hex 1/2"-13, G5

6шт.

Выбрано товаров: 0