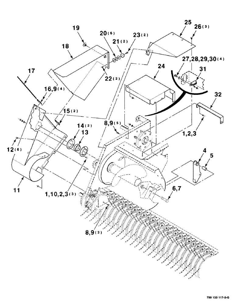
Запчасти Case IH 8575 (3-18) - PICKUP SHIELDS ASSEMBLY, RIGHT Pickup

Схема запчастей Case IH 8575 - (3-18) - PICKUP SHIELDS ASSEMBLY, RIGHT Pickup
7
16
18
31
29
14
24
8
27
10
1
12
9
9
28
13
22
17
8
32
9
3
5
23
4
20
3
1
25
2
21
15
11
30
6
2
26
19
FIT
1:1
100%

Артикул

Название

Примечание

Количество

1

434-616

CARRIAGE BOLT,Sht Sq Nk, 3/8" - 16 x 1", Gr 5

3/8-16 X 1 RHSNB

4шт.

2

492-11038

LOCK WASHER,3/8"

4шт.

3

425-106

NUT,3/8"-16, Cl 5

4шт.

4

700123808

PIVOT

WA-CYLINDER

1шт.

5

700113281

SPACER

1шт.

6

413-1248

BOLT,Hex, 3/4" - 10 x 3", Gr 5

.75 X 3 UNC GR5 YZD

1шт.

7

230-41112

LOCK NUT,3/4"-10, GA

3/4-10 HTLN GR/B

1шт.

8

121-115

SERRATED BOLT,Hex, 5/16" - 18 x 3/4"

8шт.

9

231-5145

SERRATED NUT,Flg, USR, 5/16"-18

NUT, Flg, USR, 5/16"-18

12шт.

10

496-11041

WASHER,13/32" x 13/16" x .065", HDN

3/8 HARDENED PLAIN WASHER

3шт.

11

700123789

PANEL

SHIELD-RIGHT

1шт.

12

409-7512

BOLT,Hex Flg, 5/16" - 18 x 3/4", Spcl

Hex Flg, 5/16-18 x 3/4", Serr

6шт.

13

565672R92

SPHERICAL BEARING,1.2505" ID x 72 mm OD x 1"

BEARING-SPHERICAL

1шт.

14

T27207

FLANGED BEARING

FLANGE

2шт.

15

700108658

SUPPORT

-HINGE

2шт.

16

413-58

BOLT,Hex, 5/16" - 18 x 1/2", Gr 5

5/16-18 X 1/2 C

4шт.

17

6844344

PIN

-HINGE

1шт.

18

700133121

SHIELD

-RIGHT

1шт.

19

700714528

LATCH

-1/4 TURN (Includes Nut)

1шт.

20

76695

WASHER

FENDER-WASHER

6шт.

21

700708648

BUMPER

2шт.

22

1954816C1

LOCK NUT

#12-24 HCLN SPL

2шт.

23

700707203

CAPTIVE WASHER SCREW

#12-24 X 3/4 HWHMS

2шт.

24

700123849

SHIELD

1шт.

25

700133119

SHIELD

-PICKUP, RIGHT

1шт.

26

121-133

SERRATED BOLT,Hex, 5/16" - 18 x 5/8", Gr 5

3шт.

27

340-1108

SCREW,Cross Pan Hd, #10-24 x 1/2"

#10-24 X 1/2 CRPHMS GR2

4шт.

28

195-513

WASHER,#10

PLAIN WASHER #10

4шт.

29

492-11010

LOCK WASHER,#10

WASHER, LOCK, #10

4шт.

30

225-14110

NUT,#10-24

4шт.

31

700714529

SOCKET/RECEPTACLE

RECEPTACLE

1шт.

32

700123807

SUPPORT

1шт.

Выбрано товаров: 32