Качественные детали и логистика
Оригинальные и аналоговые запчасти с доставкой по России, Казахстану и Беларуси
©2022 PartSell ООО "Система" ИНН 2463123282 ОГРН 1212400004838
Центральный офис: г. Красноярск, Академика Киренского, д.87, пом.4
Телефон: 8 (800) 777-65-74 Email: zakaz@partsell.ru
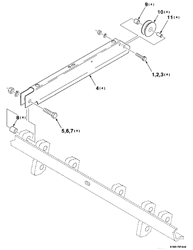
(6-04) - TENSION ARM ASSEMBLY
№
Артикул
Название
Примечание
Количество
1
363-31016
SCREW,Hex Wash Hd, #10-24 x 1"
#10-24 X 1 HWHMS
4шт.
2
492-11010
LOCK WASHER,#10
WASHER, LOCK, #10
3
225-14110
NUT,#10-24
4
6523765
ARM
-TENSION
5
413-520
BOLT,Hex, 5/16" - 18 x 1-1/4", Gr 5
5/16-18 X 1-1/4 C
6
492-11031
LOCK WASHER,5/16"
WASHER, LOCK, 5/16"
7
425-105
NUT,5/16"-18, G5
8
6523799
BUSHING
-TENSIONER
9
7849656
SLEEVE
-ROLLER
10
6529945
ROLLER
11
7849110
BUSHING,5.23mm ID x 6.99mm OD x 13.49mm L
BUSHING-ROLLER
Выбрано товаров: 0