Запчасти Case IH 8575 (10-010) - CART ASSEMBLY (UNLATCHING) Accumulator

Схема запчастей Case IH 8575 - (10-010) - CART ASSEMBLY (UNLATCHING) Accumulator
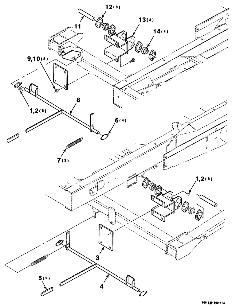
10
14
7
1
13
11
2
3
2
9
4
8
6
5
1
12
FIT
1:1
100%

Артикул

Название

Примечание

Количество

1

433-512

CARRIAGE BOLT,Sq Nk, 5/16" - 18 x 3/4", Gr 5

16шт.

2

232-5315

FLANGE NUT,Flg, 5/16"-18

5/16-18 HFTLN GRIG

16шт.

3

700113784

COVER PLATE

CLAMP

1шт.

4

700134595

ARM

WA unlatch, left

1шт.

5

827360

HANDLE

GRIP

2шт.

6

A63366

SPHERICAL BEARING,19mm ID

ASSEMBLY

4шт.

7

58941

SPRING

extension

2шт.

8

700134596

ARM

WA unlatch, right

1шт.

9

433-824

CARRIAGE BOLT,Sq Nk, 1/2" - 13 x 1 1/2", Gr 5

8шт.

10

231-5348

FLANGE NUT,Flg, 1/2"-13

1/2-13 HFTLN GR/G

8шт.

11

6810808

SHAFT

1шт.

12

50591

FLANGE,52mm

BEARING

8шт.

13

700113763

SUPPORT

WA

2шт.

14

50302

SPHERICAL BEARING,25.4 mm ID x 52 mm OD x 30.96 mm

spherical

4шт.

Выбрано товаров: 14