Качественные детали и логистика
Оригинальные и аналоговые запчасти с доставкой по России, Казахстану и Беларуси
©2022 PartSell ООО "Система" ИНН 2463123282 ОГРН 1212400004838
Центральный офис: г. Красноярск, Академика Киренского, д.87, пом.4
Телефон: 8 (800) 777-65-74 Email: zakaz@partsell.ru
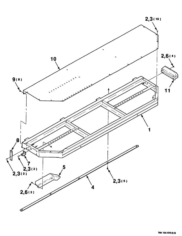
(10-012) - WING CART ASSEMBLY (LEFT)
№
Артикул
Название
Примечание
Количество
1
700134572
FUNNEL
FRAME WING, WA cart
1шт.
2
434-616
CARRIAGE BOLT,Sht Sq Nk, 3/8" - 16 x 1", Gr 5
3/8-16 x 1 RHSNB
31шт.
3
232-5316
FLANGE NUT,Flg, 3/8"-16
3/8-16 HFTLN GR/G
25шт.
4
700129986
STRAP
WING, adjustment
5
700134586
STOP
WA WING, left
6
329-286
FLANGE NUT,Flg, 3/8"-16, G8
6шт.
7
700129942
ANGLE
mounting, spring
8
700134590
WING, latch
9
409-768
BOLT,Hex Flg, 3/8" - 16 x 1/2", Spcl
3/8-16 x 1/2 HFSS
8шт.
10
700134583
FLOOR
WING, left
11
700134582
CHANNEL
WING, rear
Выбрано товаров: 0