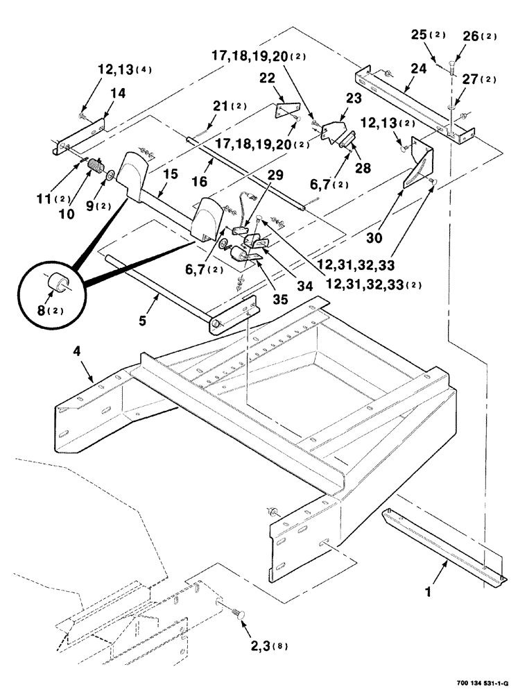
Запчасти Case IH 8575 (10-016) - FRAME AND PADDLE ASSEMBLY (REAR) Accumulator

Схема запчастей Case IH 8575 - (10-016) - FRAME AND PADDLE ASSEMBLY (REAR) Accumulator
28
13
23
16
26
4
34
6
32
17
17
20
27
21
18
5
19
15
8
29
9
20
2
12
31
12
30
32
12
7
11
18
22
10
14
13
1
33
19
31
12
6
25
35
3
33
24
7
FIT
1:1
100%

Артикул

Название

Примечание

Количество

1

700134565

ANGLE

WA PADDLE

1шт.

2

433-820

CARRIAGE BOLT,Sq Nk, 1/2" - 13 x 1 1/4", Gr 5

8шт.

3

231-5348

FLANGE NUT,Flg, 1/2"-13

1/2-13 HFTLN GR/G

8шт.

4

700134532

FUNNEL

FRAME WA rear

1шт.

5

700134539

MOUNTING PARTS

WA PADDLE mounting, rear

1шт.

6

440-1068

SCREW,Cross Pan Hd, #6-32 x 1/2"

GR60M

4шт.

7

225-14106

NUT,#6-32

4шт.

8

700715630

BRONZE BUSHING

2шт.

9

95-81182

WASHER,0.81" ID x 1.25" OD x 0.07" Thk

3/4 x 14 gauge NRMB

2шт.

10

700716833

SPRING

torsion

1шт.

11

38-31016

PIN,5/32" x 1", Coiled

2шт.

12

433-512

CARRIAGE BOLT,Sq Nk, 5/16" - 18 x 3/4", Gr 5

9шт.

13

232-5315

FLANGE NUT,Flg, 5/16"-18

5/16-18 HFTLN GR/G

6шт.

14

700134542

ANGLE

mounting, right, rear

1шт.

15

700134548

PADDLE

ASSEMBLY rear, Includes: Ref. 8

1шт.

16

700134560

SHAFT

stop, rear

1шт.

17

434-412

CARRIAGE BOLT,Sht Sq Nk, 1/4" - 20 x 3/4", Gr 5

1/4-20 x 3/4 RHSNB

4шт.

18

496-11028

WASHER,9/32" x 5/8" x .065, HDN

hardened plain, 1/4

4шт.

19

492-11025

LOCK WASHER,1/4"

4шт.

20

425-104

NUT,1/4"-20, Cl 5

4шт.

21

432-1220

COTTER PIN,3/16" x 1 1/4"

2шт.

22

700134559

STRAP

STRAP mounting, link

1шт.

23

700134557

SUPPORT

actuator

1шт.

24

700134538

ANGLE

ANGLE support, paddle

1шт.

25

62034

BATTERY

PIN cotter, 3/32 x 3/4

2шт.

26

700111557

SCREW

special

2шт.

27

496-11041

WASHER,13/32" x 13/16" x .065", HDN

hardened plain, 3/8

2шт.

28

700709996

SWITCH

actuator

1шт.

29

700710208

ROTARY SWITCH

1шт.

30

700134564

ANGLE

adjustment, switch

1шт.

31

496-21034

WASHER,11/32" x 11/16" x 0.89", HDN

3шт.

32

492-11031

LOCK WASHER,5/16"

3шт.

33

425-105

NUT,5/16"-18, G5

3шт.

34

700134558

SUPPORT

switch

1шт.

35

700134562

MOUNTING PARTS

WA switch

1шт.

Выбрано товаров: 35