Запчасти Case IH 8575 (10-018) - FRAME SHIELD AND PADDLE ASSEMBLY (REAR) Accumulator

Схема запчастей Case IH 8575 - (10-018) - FRAME SHIELD AND PADDLE ASSEMBLY (REAR) Accumulator
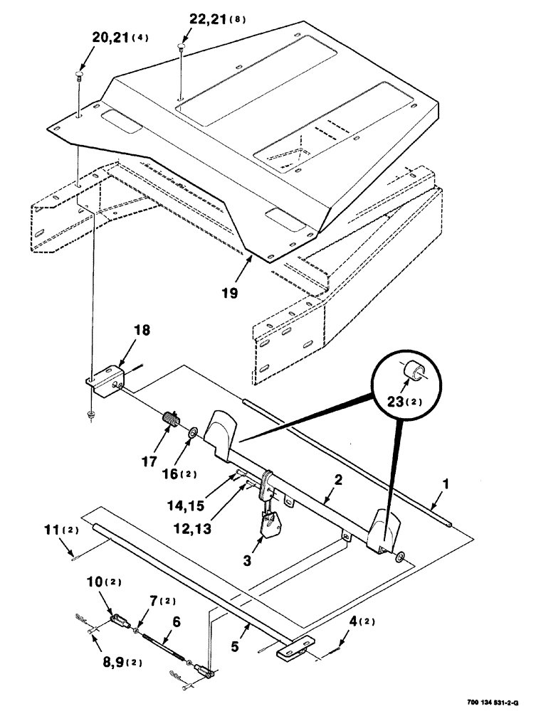
20
5
4
8
18
13
15
21
9
17
23
21
3
16
12
11
19
1
2
22
7
10
6
14
FIT
1:1
100%

Артикул

Название

Примечание

Количество

1

700134561

SHAFT

stop, front

1шт.

2

700134554

PADDLE

ASSEMBLY front, Includes: Ref. 23

1шт.

3

700134568

ARM

lever

1шт.

4

432-1220

COTTER PIN,3/16" x 1 1/4"

2шт.

5

700134543

MOUNTING PARTS

WA PADDLE, front

1шт.

6

700134567

ROD

LINK, paddle

1шт.

7

425-115

NUT,5/16"-24, G5

2шт.

8

427-5112

CLEVIS PIN,5/16" x 1 1/8"

clevis, 5/16 x 1

2шт.

9

407209R1

CLIP

wire hairpin cotton, .091

2шт.

10

66498

CLEVIS

2шт.

11

38-31016

PIN,5/32" x 1", Coiled

2шт.

12

A8823

PIN,6.29mm OD x 26.99mm L

clevis, 1/4 x 1

1шт.

13

62034

BATTERY

PIN cotter, 3/32 x 3/4

1шт.

14

427-6106

CLEVIS PIN,9.53mm OD x 26.92mm L

1шт.

15

432-1012

COTTER PIN,5/32" x 3/4"

5/32" x 3/4"

1шт.

16

95-81182

WASHER,0.81" ID x 1.25" OD x 0.07" Thk

3/4 x 14 gauge NRMB

2шт.

17

700716833

SPRING

torsion

1шт.

18

700134547

ANGLE

mounting, right, front

1шт.

19

700134537

FLOOR

rear

1шт.

20

434-616

CARRIAGE BOLT,Sht Sq Nk, 3/8" - 16 x 1", Gr 5

3/8-16 x 1 RHSNB

4шт.

21

232-5316

FLANGE NUT,Flg, 3/8"-16

3/8-16 HFTLN GR/G

12шт.

22

433-612

CARRIAGE BOLT,Sq Nk, 3/8" - 16 x 3/4", Gr 5

8шт.

23

700715630

BRONZE BUSHING

2шт.

Выбрано товаров: 23