Качественные детали и логистика
Оригинальные и аналоговые запчасти с доставкой по России, Казахстану и Беларуси
©2022 PartSell ООО "Система" ИНН 2463123282 ОГРН 1212400004838
Центральный офис: г. Красноярск, Академика Киренского, д.87, пом.4
Телефон: 8 (800) 777-65-74 Email: zakaz@partsell.ru
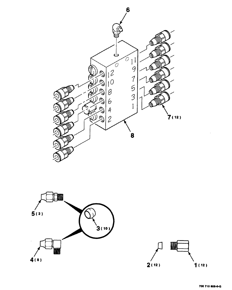
(10-036) - LUBE SYSTEM KIT, 700710808 LUBE SYSTEM KIT COMPLETE
№
Артикул
Название
Примечание
Количество
700710808
KIT
1шт.
1
700706684
HYD CONNECTOR
compression
12шт.
2
700706678
FERRULE
3
30774V
ball
10шт.
4
700706682
FRONT AXLE
ELBOW, 90 Deg., Includes: Ref. 3
8шт.
5
219-300
ROD, CONNECTING
male, Includes: Ref. 3
2шт.
6
219-36
LUBE NIPPLE,45 Degree Elbow, 1/8" - 27 NPTF
7
700714008
QUICKLINE
8
700706680
MANIFOLD
DIVIDER, 12 way
Выбрано товаров: 0