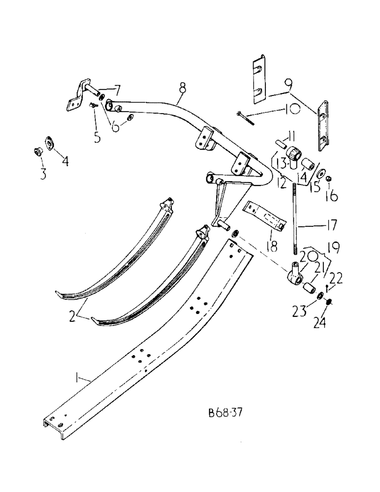
Запчасти Case IH 425 (A-26) - NEEDLES AND NEEDLE GUARD

Схема запчастей Case IH 425 - (A-26) - NEEDLES AND NEEDLE GUARD
FIT
1:1
100%

Артикул

Название

Примечание

Количество

1

3101460R1

GUARD

needle

1шт.

17351R1

CARRIAGE BOLT,Short Sq Nk, 3/8" - 16 x 1", Gr 2

BOLT, 3/8 x 1 crg type 1

2шт.

102635

NUT,3/8"-16, G5

2шт.

103321

LOCK WASHER,3/8"

WASHER, LOCK, 3/8"

2шт.

179858

SUPPORT

7/16 x 1 pln type 5

2шт.

NLS

NO LONGER SERVICED

7/16 pln type 5

2шт.

103322

LOCK WASHER,7/16"

WASHER, LOCK, 7/16"

2шт.

607891R1

WASHER

.469 x 1.000 x .054

2шт.

2

3103954R91

NEEDLE

W/PIN, twine, replaces 3102831R1

2шт.

19954R1

DOWEL,5/16" x 5/8"

PIN, 5/16 x .625 pln hdn dowel

2шт.

179895

BOLT,Hex, 1/2" - 13 x 3 1/2", Gr 5

1/2 x 3-1/2 pln type 5

2шт.

179883

BOLT,Hex, 1/2" - 13 x 1 1/4", Gr 5

4шт.

120378

NUT,Hex, 1/2" - 13, Gr 5

NUT, 1/2"-13, G5

2шт.

120384

WASHER,1/2"

LOCK, 1/2"

6шт.

3

3102165R1

GUIDE

twine

4шт.

4

352133R1

PLATE

twine guide mounting

4шт.

436732

SCREW,Slotted Pan Hd, #10-24 x 1/2"

no. 10 x 1/2 znp P/HDS mach

1шт.

436732

SCREW,Slotted Pan Hd, #10-24 x 1/2"

no. 10 x 1/2 znp P/HDS mach

8шт.

102361

NUT, 10-24 hex mach

8шт.

120217

LOCK WASHER,#10

WASHER, LOCK, #10

8шт.

5

332040

LUBE NIPPLE,90 Degree, 1/8" NPT x .84" lg

FITTING, 1/8-27 90 deg angle lub

2шт.

6

178375R1

WASHER

25/32 x 1-1/4 x .054, or

1шт.

6

551658R1

WASHER

25/32 x 1-1/4 x .027, (or as required)

2шт.

7

3103293R1

STRAP

ASSY, needle pivot RH

1шт.

17351R1

CARRIAGE BOLT,Short Sq Nk, 3/8" - 16 x 1", Gr 2

BOLT, 3/8 x 1 crg type 1

2шт.

102635

NUT,3/8"-16, G5

2шт.

120382

LOCK WASHER,Helical Spring, 3/8"

WASHER, LOCK, 3/8"

2шт.

8

3102825R1

TUBE,560 mm Length

PIPE ASSY, needle tie

1шт.

469668R1

WASHER

3/8 lock

2шт.

9

5179PA

WEDGE

hay

2шт.

18508R1

CARRIAGE BOLT,Short Nk, 3/8" - 16 x 3/4", Gr 2, Full Thd

BOLT, 3/8 x 3/4 crg type 1

4шт.

102635

NUT,3/8"-16, G5

4шт.

120382

LOCK WASHER,Helical Spring, 3/8"

WASHER, LOCK, 3/8"

4шт.

10

3102833R1

BOLT,Hex, 5/8" - 11 x 3 1/4"

5/8-11 x 3-1/4 hex hd mach

1шт.

11

3102832R1

SPACER

needle pitman bearing

1шт.

12

3100713R11

BALL JOINT

BEARING ASSY, needle pitman

1шт.

13

BEARING, needle pitman, not serviced

1шт.

14

3100715R1

BUSHING

1шт.

15

130999

WASHER,5/8"

.633 x 1.750 x .108

1шт.

16

202708C1

NUT

3/8 hex lock

1шт.

17

3102834R1

STUD

SHANK, need pitman

1шт.

425-110

5/8-NF type 5

2шт.

18

3103290R1

STRAP

ASSY, needle pivot LH

1шт.

17351R1

CARRIAGE BOLT,Short Sq Nk, 3/8" - 16 x 1", Gr 2

BOLT, 3/8 x 1 crg type 1

2шт.

102635

NUT,3/8"-16, G5

2шт.

120382

LOCK WASHER,Helical Spring, 3/8"

WASHER, LOCK, 3/8"

2шт.

19

3100713R11

BALL JOINT

BEARING ASSY, needle pitman

1шт.

20

BEARING, needle pitman, not serviced

1шт.

21

3100715R1

BUSHING

1шт.

22

432-1620

COTTER PIN,1/4" x 1 1/4"

Pin, Split (Cotter), 1/4" x 1 1/4"

1шт.

23

NOT USED THIS APPLICATION

1шт.

24

21868V

WASHER

29/32 x 1 x 16 ga

1шт.

Выбрано товаров: 52