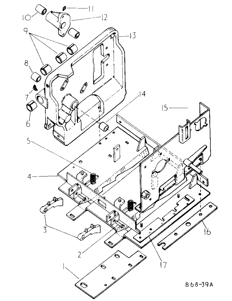
Запчасти Case IH 425 (A-28) - KNOTTER DRIVE FRAME AND BREAST PLATE

Схема запчастей Case IH 425 - (A-28) - KNOTTER DRIVE FRAME AND BREAST PLATE
FIT
1:1
100%

Артикул

Название

Примечание

Количество

1

202585C2

FILLER

breast plate RH

1шт.

17351R1

CARRIAGE BOLT,Short Sq Nk, 3/8" - 16 x 1", Gr 2

BOLT, 3/8 x 1 crg type 1

3шт.

120377

NUT,3/8" - 16, Gr 5

3шт.

120382

LOCK WASHER,Helical Spring, 3/8"

WASHER, LOCK, 3/8"

3шт.

21741R1

WASHER

.406 x .875 x .105

2шт.

2

671034R1

PIN

1/2 x 1-1/2 hay retainer

2шт.

432-1216

COTTER PIN,3/16" x 1"

Pin, Split (Cotter), 3/16" x 1"

2шт.

20869R1

WASHER

.531 x .875 x .054, (as required)

2шт.

3

3102851R1

RETAINER

hay

2шт.

4

3102838R2

PLATE

ASSY, breast

1шт.

15580R1

PLOW BOLT,#3, 5/16" - 18 x 1 1/2", Gr 2

BOLT, PLOW, 5/16"-18 x 1 1/2", G2

2шт.

15550R1

PLOW BOLT,#3 Hd, 5/16" - 18 x 1"

BOLT, PLOW, 5/16"-18 x 1", G2, Full Thd

2шт.

18508R1

CARRIAGE BOLT,Short Nk, 3/8" - 16 x 3/4", Gr 2, Full Thd

BOLT, 3/8 x 3/4 crg type 1

1шт.

550796R1

CARRIAGE BOLT,3/8" - 16 x 1 1/4", Grade 5

BOLT, 3/8 x 1-1/4 crg type 5

2шт.

180126

BOLT,Hex, 3/8" - 16 x 1 1/2", Gr 5

3/8 x 1-1/2 crg type 5

1шт.

180122

BOLT,Hex, 3/8" - 16 x 1", Gr 5

3/8 x 1 type 5

1шт.

120377

NUT,3/8" - 16, Gr 5

5шт.

120394

WASHER,3/8", SAE

WASHER, .406 x .812 x .051

4шт.

120392

WASHER,1/4", SAE

.281 x .625 x .051

5шт.

7770

NUT,Hex, 1/4 - 20, Cl 5

5/16 pln hex

4шт.

103320

LOCK WASHER,5/16"

WASHER, LOCK, 5/16"

4шт.

95-11034

WASHER,1/4"

.344 x .688 x .051 pln

1шт.

5

668869R1

SPRING

hay retainer

2шт.

6

674263R1

BUSHING

packer crank

1шт.

7

332040

LUBE NIPPLE,90 Degree, 1/8" NPT x .84" lg

FITTING, 1/8-27 90 deg angle lub

2шт.

8

3102882R1

BUSHING

knotted shaft

1шт.

9

674263R1

BUSHING

packer crank

3шт.

10

3102885R1

BUSHING,28.575 mm ID x 34.966 mm OD x 32 mm

rear knotter drive shaft

2шт.

11

109461

LUBE NIPPLE,1/8"-27 x .66 lg

NIPPLE, LUBE, 1/8"-27 x .66 lg

1шт.

12

3102883R1

SUPPORT ASSY, rear knotter drive shaft

1шт.

179841

BOLT,Hex, 3/8" - 16 x 1 1/4", Gr 5

3/8-16 x 1-1/4 pln type 5

2шт.

120382

LOCK WASHER,Helical Spring, 3/8"

WASHER, LOCK, 3/8"

2шт.

13

3102880R91

FRAME

ASSY, knotter drive

1шт.

14

3102882R1

BUSHING

knotter shaft

1шт.

15

3102872R1

SUPPORT

ASSY, knotter LH

1шт.

16

202584C1

LARGE PLATE

FILLER, breast plate LH

1шт.

17

3102879R1

FILLER

knotter support LH, (or as required)

1шт.

17351R1

CARRIAGE BOLT,Short Sq Nk, 3/8" - 16 x 1", Gr 2

BOLT, 3/8 x 1 crg type 1

2шт.

550796R1

CARRIAGE BOLT,3/8" - 16 x 1 1/4", Grade 5

BOLT, 3/8 x 1-1/4 crg type 5

2шт.

120377

NUT,3/8" - 16, Gr 5

4шт.

120382

LOCK WASHER,Helical Spring, 3/8"

WASHER, LOCK, 3/8"

4шт.

489668R1

WASHER, .406 x .734 x .056

2шт.

Выбрано товаров: 42