Запчасти Case IH 425 (A-37) - PICKUP

Схема запчастей Case IH 425 - (A-37) - PICKUP
FIT
1:1
100%

Артикул

Название

Примечание

Количество

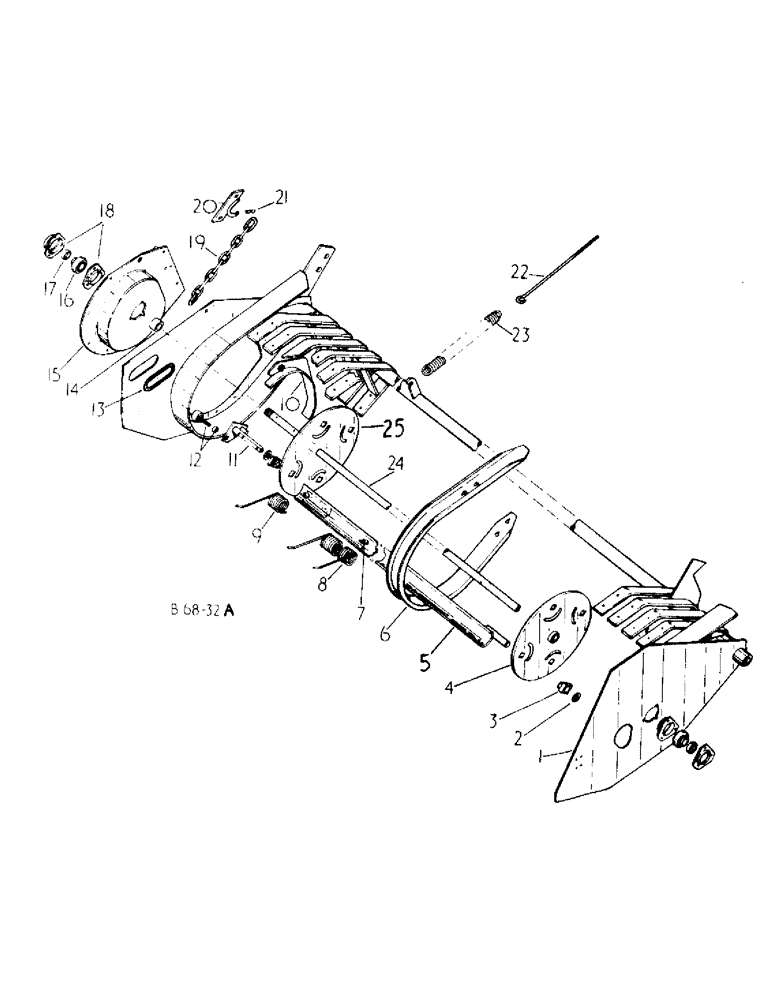
1

3102822R1

FRAME

ASSY, pickup

1шт.

23821R1

HEADED PIN,5/16" x 2.609"

PIN, HEADED, 5/16" x 2.609"

2шт.

648002

KNIFE

1/8" x 3/4"

2шт.

2

668752R1

WASHER

.06 x 1.05 x .054

8шт.

3

668999R1

BUSHING

tine bar pivot

8шт.

4

3102242R1

PLATE

ASSY, pickup cylinder

1шт.

21835R1

HEADED PIN,5/16" x 1 3/4"

PIN, 5/16 x 1.750 hd type 5

4шт.

648002

KNIFE

1/8" x 3/4"

4шт.

5

3101702R1

BRACKET

BAR ASSY, pickup tooth

4шт.

668752R1

WASHER

.906 x 1.250 x .054

8шт.

187988

COTTER PIN,3/16" x 1 1/4"

PIN, SPLIT (COTTER), 3/16" x 1 1/4"

4шт.

6

3101705R2

HOOK

STRIPPER, pickup

18шт.

27607R1

SELF-TAP SCREW,Hex Wash Hd, 5/16" x 3/4"

SCREW, 5/16 x 3/4 h/whd tap

72шт.

7

3102212R2

WASHER

clip pickup spring

40шт.

8

3103819R2

TINE

SPRING, pickup tooth, replaces 208559C2

36шт.

598803R1

CARRIAGE BOLT,Short NK, 5/16"-18 x 1", G5, Full Thd

BOLT, 5/16 x 1 crg type 5

36шт.

120376

NUT,5/16"-18, G5

36шт.

178532

LOCK WASHER,Ext-Int Tooth, 5/16"

WASHER, 5/16 ext-int tooth lock

36шт.

9

3101704R2

TINE

SPRING, pickup tooth

4шт.

598803R1

CARRIAGE BOLT,Short NK, 5/16"-18 x 1", G5, Full Thd

BOLT, 5/16 x 1 crg type 5

4шт.

120376

NUT,5/16"-18, G5

4шт.

178532

LOCK WASHER,Ext-Int Tooth, 5/16"

WASHER, 5/16 ext-int tooth lock

4шт.

10

3102215R1

GUIDE

ASSY, pickup tooth bar

1шт.

80681

LOCK WASHER,5/16"

WASHER, LOCK, 5/16"

2шт.

557264R1

WASHER

.344 x .750 x .105 pln

1шт.

120376

NUT,5/16"-18, G5

1шт.

180075

BOLT,Hex, 5/16" - 18 x 5/8", Gr 5

5/16 x 5/8 type 5

1шт.

11

3101706R1

HOLDER

ASSY, pickup tooth bar bearing

4шт.

12

3101710R92

JOURNAL

BEARING ASSY, pickup cyl. tine control, or

4шт.

12

3102369R91

ROLLER

BEARING ASSY

1шт.

180126

BOLT,Hex, 3/8" - 16 x 1 1/2", Gr 5

3/8 x 1-1/2 type 5

8шт.

120377

NUT,3/8" - 16, Gr 5

8шт.

120382

LOCK WASHER,Helical Spring, 3/8"

WASHER, LOCK, 3/8"

8шт.

115549

LOCK WASHER,Int Tooth, 3/8"

WASHER, LOCK, Int Tooth, 3/8"

4шт.

13

3102824R1

SEAL ASSY.

SEAL, flange

1шт.

14

3101726R1

SPACER

used with shaft, 3101720R1

1шт.

15

3101694R1

CAM

ASSY, pickup tooth control

1шт.

113-206

BOLT,Hex, 3/8" - 16 x 3/4", Gr 5, Full Thd

3/8 x 3/4 type 5

3шт.

120382

LOCK WASHER,Helical Spring, 3/8"

WASHER, LOCK, 3/8"

9шт.

120377

NUT,3/8" - 16, Gr 5

6шт.

16

455965R92

BEARING

ASSY, pickup cylinder

2шт.

17

455102R21

COLLAR

bearing locking

1шт.

18

571424R1

FLANGE

bearing

1шт.

598803R1

CARRIAGE BOLT,Short NK, 5/16"-18 x 1", G5, Full Thd

BOLT, 5/16 x 1 crg type 5

6шт.

9635082

NUT,5/16" - 18, Gr 5

5/16 pln hex

6шт.

103320

LOCK WASHER,5/16"

WASHER, LOCK, 5/16"

6шт.

19

3103075R1

CHAIN (AG)

CHAIN, pickup lift

1шт.

598804R1

CARRIAGE BOLT,Sht Sq Nk, 5/16" - 18 x 1 1/4", Gr 5

BOLT, 5/16 x 1-1/4 crg type 5

1шт.

120376

NUT,5/16"-18, G5

1шт.

80681

LOCK WASHER,5/16"

WASHER, LOCK, 5/16"

1шт.

668569R1

WASHER

.344 x 1.500 x .105

1шт.

619855R1

WASHER

.344 x .750 x .054

1шт.

20

3103072R2

HOOK

ASSY, pickup lift

1шт.

598802R1

CARRIAGE BOLT,Short NK, 5/16"-18 x 3/4", G5, Full Thd

BOLT, 5/16 x 3/4 crg type 5

2шт.

120376

NUT,5/16"-18, G5

2шт.

80681

LOCK WASHER,5/16"

WASHER, LOCK, 5/16"

2шт.

21

3101888R1

PIN

spring

1шт.

22

674158R1

BOLT,3/8" - 16 x 14.6"

pickup balance spring

1шт.

21471R1

WASHER

.656 x 1.000 x .105

1шт.

102635

NUT,3/8"-16, G5

2шт.

23

3103828R1

SPRING

pickup balance, replaces MA731

1шт.

24

3101722R2

SHAFT

ASSY, pickup cylinder drive, replaces 3101720R1

1шт.

25

3103901R1

PLATE

ASSY, pickup cylinder end RH

1шт.

3103825R2

COVER

ASSY, pickup end

1шт.

181311

BOLT,Hex, 1/4" - 28 x 5/8", Gr 5

1/4-NF x 5/8 pln type 5

4шт.

492-11025

LOCK WASHER,1/4"

WASHER, LOCK, 1/4"

4шт.

120392

WASHER,1/4", SAE

.281 x .625 x .051

4шт.

Выбрано товаров: 67