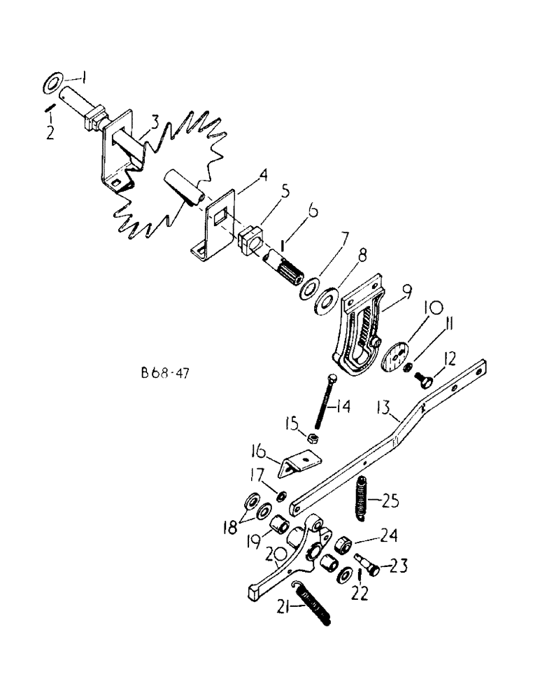
Запчасти Case IH 425 (A-42) - BALE LENGTH CONTROL

Схема запчастей Case IH 425 - (A-42) - BALE LENGTH CONTROL
FIT
1:1
100%

Артикул

Название

Примечание

Количество

1

20703R1

WASHER

.906 x 1.750 x .054

1шт.

2

103449

PIN, 1/4 x 1-1/4 slotted spring

2шт.

3

3102977R1

SHAFT

ASSY

1шт.

4

3102805R1

BRACKET

meter wheel shaft bearing

2шт.

18508R1

CARRIAGE BOLT,Short Nk, 3/8" - 16 x 3/4", Gr 2, Full Thd

BOLT, 3/8 x 3/4 crg type 1

4шт.

102635

NUT,3/8"-16, G5

4шт.

103321

LOCK WASHER,3/8"

WASHER, LOCK, 3/8"

4шт.

619586R1

WASHER, 13/32 x 1 x 16 ga

4шт.

5

668999R1

BUSHING

meter wheel, or

2шт.

5

3101216R1

BUSHING

meter wheel

2шт.

6

103449

PIN, 1/4 x 1-1/4 slotted spring

1шт.

7

20703R1

WASHER

.906 x 1.750 x .054, (or as required)

4шт.

8

3102201R1

WASHER

rack retaining

1шт.

9

3102111R4

RACK

GEAR, trip arm rack

1шт.

180121

BOLT,Hex, 3/8" - 16 x 7/8", Gr 5

3/8 x 7/8 type 5

2шт.

120394

WASHER,3/8", SAE

WASHER, .406 x .812 x .051

2шт.

120382

LOCK WASHER,Helical Spring, 3/8"

WASHER, LOCK, 3/8"

2шт.

10

3102202R1

WASHER

rack retaining

1шт.

11

103320

LOCK WASHER,5/16"

WASHER, LOCK, 5/16"

1шт.

12

179814

SPACER

1шт.

13

3102978R1

ROD

trip

1шт.

14

3102984R1

BOLT

5/16-18 x 3-3/4

1шт.

15

120376

NUT,5/16"-18, G5

1шт.

16

3102983R1

BRACKET

bale length control

1шт.

17351R1

CARRIAGE BOLT,Short Sq Nk, 3/8" - 16 x 1", Gr 2

BOLT, 3/8 x 1 crg type 1

2шт.

102635

NUT,3/8"-16, G5

2шт.

120382

LOCK WASHER,Helical Spring, 3/8"

WASHER, LOCK, 3/8"

2шт.

17

477242R1

WASHER

13/32 x 1 x 22 ga

1шт.

18

178375R1

WASHER

25/32 x 1-1/4 x 16 ga, (or as required)

3шт.

3102979R91

ARM

ASSY, trip, consists 17, 19, 20, 22 thru 24

1шт.

19

667811R1

BUSHING

trip arm

2шт.

20

ARM, trip, not serviced

1шт.

21

101330H

SPRING

trip

1шт.

22

121222

COTTER PIN,3/32" x 3/4"

PIN, SPLIT (COTTER), 3/32" x 3/4"

1шт.

23

662020R1

STUD

trip arm roller

1шт.

24

662019R1

ROLLER,28.57mm OD x 12.7mm L

trip arm

1шт.

25

204009C1

SPRING

trip rod

1шт.

Выбрано товаров: 37