Запчасти Case IH 425 (A-51) - TRAILER HITCH

Схема запчастей Case IH 425 - (A-51) - TRAILER HITCH
FIT
1:1
100%

Артикул

Название

Примечание

Количество

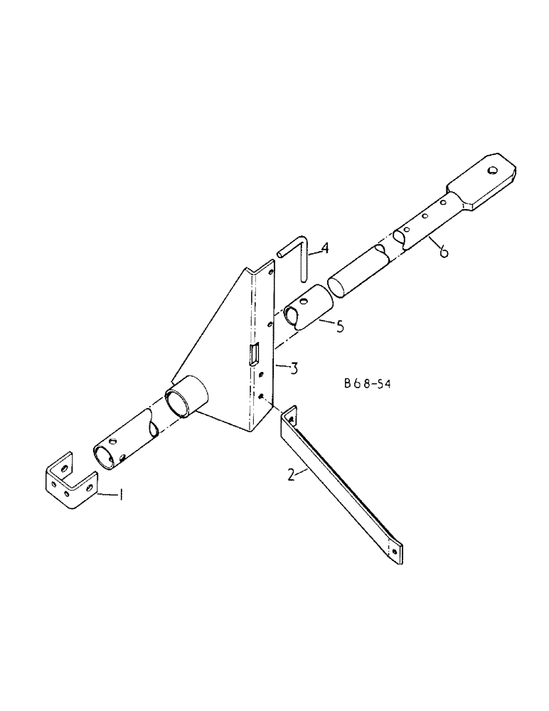
1

669015R2

ANCHOR

trailer hitch

1шт.

180175

BOLT,Hex, 1/2" - 13 x 1 1/4", Gr 5

1/2 x 1-1/4 type 5

1шт.

180177

BOLT,Hex, 1/2" - 13 x 1 1/2", Gr 5

1/2 x 1-1/2 type 5

1шт.

474848R1

LOCK NUT,1/2"-13, GB

NUT, 1/2-13 hex lock

2шт.

120384

WASHER,1/2"

LOCK, 1/2"

2шт.

2

3103750R2

SUPPORT, trailer hitch

1шт.

NLS

NO LONGER SERVICED

1шт.

120377

NUT,3/8" - 16, Gr 5

1шт.

120382

LOCK WASHER,Helical Spring, 3/8"

WASHER, LOCK, 3/8"

1шт.

413-716

BOLT,Hex, 7/16" - 14 x 1", Gr 5

7/16 x 1 pln type 5

1шт.

NLS

NO LONGER SERVICED

7/16 pln type 5

1шт.

120383

LOCK WASHER,Helical Spring, 7/16"

WASHER, LOCK, 7/16"

1шт.

3

674394R2

TRAILER HITCH

HITCH ASSY, trailer

1шт.

17351R1

CARRIAGE BOLT,Short Sq Nk, 3/8" - 16 x 1", Gr 2

BOLT, 3/8 x 1 crg type 1

2шт.

120377

NUT,3/8" - 16, Gr 5

2шт.

120382

LOCK WASHER,Helical Spring, 3/8"

WASHER, LOCK, 3/8"

2шт.

180122

BOLT,Hex, 3/8" - 16 x 1", Gr 5

3/8 x 1 type 5

2шт.

385525R1

LOCK NUT,3/8"-16, GB

NUT, 3/8-16 CDP hex. lock

2шт.

120382

LOCK WASHER,Helical Spring, 3/8"

WASHER, LOCK, 3/8"

2шт.

271730

SWASH PLATE,Hex, 5/8" - 11 x 3 3/4", Gr 5

5/8 x 3-3/4 type 5

1шт.

473211R1

LOCK NUT,5/8"-11, GB

NUT, 5/8-11 hex lock

1шт.

492-11062

BEARING WASHER,5/8"

WASHER, LOCK, 5/8"

1шт.

4

662438R1

PIN

trailer hitch adj

1шт.

18481R1

COTTER PIN,3/16" x 1"

PIN, SPLIT (COTTER), 3/16" x 1"

1шт.

5

662437R3

PIPE

trailer hitch

1шт.

6

669018R1

BAR

tailer hitch adj

1шт.

Выбрано товаров: 26