Запчасти Case IH 428 (A-47) - HYDRAULIC BALE TENSION DEVICE CHANNELS, HOSE AND DRIVE FOR AUTOMATIC LUBRICATION

Схема запчастей Case IH 428 - (A-47) - HYDRAULIC BALE TENSION DEVICE CHANNELS, HOSE AND DRIVE FOR AUTOMATIC LUBRICATION
FIT
1:1
100%

Артикул

Название

Примечание

Количество

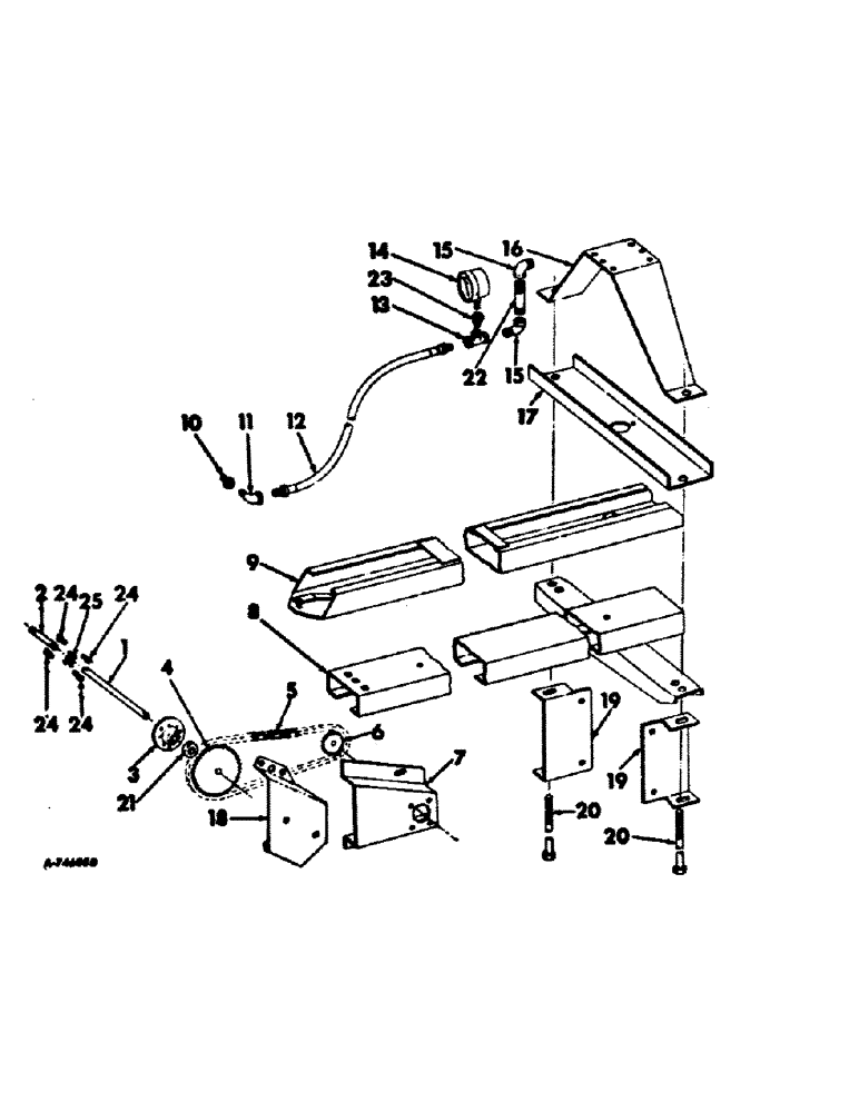
1

201658C1

SHAFT

pump drive

1шт.

120378

NUT,Hex, 1/2" - 13, Gr 5

NUT, 1/2"-13, G5

1шт.

2

201657C1

SHAFT

pump drive connecting

1шт.

3

668750R91

BEARING ASSY

ASSY, pump drive shaft

1шт.

4

668134R1

SPROCKET ASSY.

SPROCKET, hydraulic pump drive

1шт.

19355R1

LOCK PIN,3/16" x 2", Slotted

PIN, 3/16" x 2", Slotted

1шт.

5

CHAIN, pump drive, for hydraulic bale tension device only, use 211 links of 3/8 pitch roller chain from A 10 ft roll marked 1765D and 1 offset link 1766D

1шт.

6

668133R1

SPROCKET ASSY.

SPROCKET, hyd pump driven, for hydraulic bale tension device only

1шт.

222892

SCREW,Hex Soc, #10-24 x 1/2"

10-24 x 1/2 hex-soc-hd set

1шт.

7

210517C1

NOZZLE HOLDER

SUPPORT, hyd tension pump

1шт.

17351R1

CARRIAGE BOLT,Short Sq Nk, 3/8" - 16 x 1", Gr 2

BOLT, 3/8-16 x 1 C-Z sq-nk crg

3шт.

120382

LOCK WASHER,Helical Spring, 3/8"

WASHER, LOCK, 3/8"

1шт.

469668R1

WASHER

13/32 x 3/4 x 16 ga C-Z

3шт.

120377

NUT,3/8" - 16, Gr 5

1шт.

8

674359R1

CHANNEL

ASSY, lower tension

1шт.

18508R1

CARRIAGE BOLT,Short Nk, 3/8" - 16 x 3/4", Gr 2, Full Thd

BOLT, 3/8 x 3/4 znd sq-nk crg

1шт.

120377

NUT,3/8" - 16, Gr 5

1шт.

120382

LOCK WASHER,Helical Spring, 3/8"

WASHER, LOCK, 3/8"

1шт.

9

674355R1

SUPPORT

CHANNEL ASSY, upper tension

1шт.

10

217-42

REDUCER,3/8" - 18 NPT x 1/4" - 18 NPT

BUSHING, 3/8 x 1/4 znp reducing pipe

1шт.

11

144112

BRACKET

1/4-90 deg znp street

1шт.

12

651643R92

HOSE

hyd 1/4 x 36

1шт.

13

144083

CLIP

TEE, 1/4 znp pipe

1шт.

14

201603C1

GAUGE

GAGE, hydraulic, replaces 963008R91 or

1шт.

14

204838C1

GAUGE

GAGE, hydraulic

1шт.

15

NLS

NO LONGER SERVICED

1/4 90 deg pipe znp street

2шт.

16

668124R1

FRAME

hyd tension jack

1шт.

17

668123R1

CHANNEL

hyd tension jack

1шт.

18

668784R1

SHIELD

pump drive chain

1шт.

16897R1

CARRIAGE BOLT,Short Nk, 5/16" - 18 x 3/4", Gr 2, Full Thd

BOLT, 5/16 x 3/4 znd sq-nk crg

2шт.

120376

NUT,5/16"-18, G5

2шт.

80681

LOCK WASHER,5/16"

WASHER, LOCK, 5/16"

2шт.

19

674363R1

CHANNEL

GUIDE, tie bolt

2шт.

20

668125R1

BOLT

hyd tension channel tie

2шт.

280374

NUT,Hex, 5/8" - 11, Gr 5

5/8-11 C-Z hex

4шт.

492-11062

BEARING WASHER,5/8"

WASHER, LOCK, 5/8"

2шт.

608081R1

WASHER

21/32 x 1-3/4 x 11 ga C-Z

6шт.

21

668751R11

COLLAR

COLLAR W/SET SCREW, bearing lock

1шт.

19280R1

SCREW,Sq Nk, 1/4" - 20 x 3/4"

BOLT, 1/4 x 3/4 znd sq-nk crg

3шт.

120375

NUT,Hex, 1/4" - 20, Gr 5

3шт.

492-11025

LOCK WASHER,1/4"

WASHER, LOCK, 1/4"

3шт.

22

192055

NIPPLE, LUBE,Nipple, 1/4" NPT x 3", Brass

NIPPLE, 1/4 x 3 znp long pipe

1шт.

23

963095R2

SNUBBER, 1/4 npt pressure

1шт.

24

PO2016

PIVOT

knuckle

4шт.

25

PO723

SPIDER ASSY.

KNUCKLE

1шт.

18657R1

BOLT,Hex, 1/4"-20 x 1-1/2", G2

1/4 x 1-1/2 znd hex-hd mach

2шт.

120375

NUT,Hex, 1/4" - 20, Gr 5

2шт.

492-11025

LOCK WASHER,1/4"

WASHER, LOCK, 1/4"

2шт.

Выбрано товаров: 0