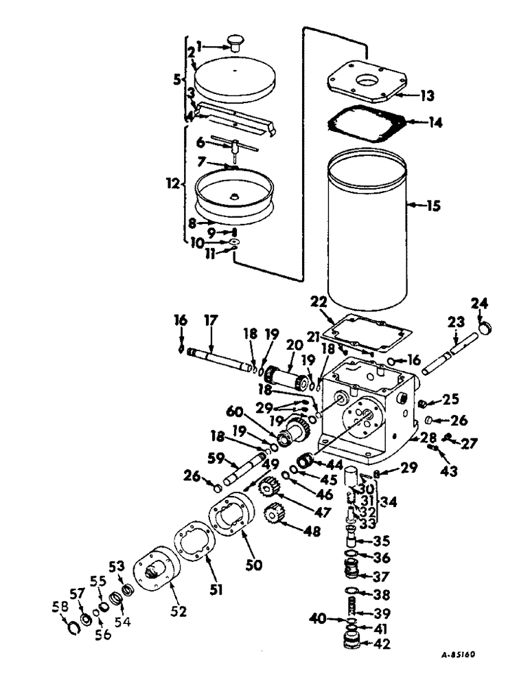
Запчасти Case IH 430 (E-82) - AUTOMATIC LUBRICATION ATTACHMENT, PUMP AND TIMER

Схема запчастей Case IH 430 - (E-82) - AUTOMATIC LUBRICATION ATTACHMENT, PUMP AND TIMER
FIT
1:1
100%

Артикул

Название

Примечание

Количество

674950R91

PUMP ASSY, lubrication, consists of the following service parts

1шт.

1

588683R1

KNOB

1шт.

2

NSS

NOT SOLD SEPARAT

(Not serviced separately), order 588671R92

1шт.

3

588715R2

CLIP, spring

1шт.

179791

BOLT,Hex, 1/4" - 20 x 1/2", Gr 5

1шт.

115574

WASHER, 1/4 int-tooth lock

1шт.

4

626909R1

RETAINER, spring clip

1шт.

5

588671R92

COVER ASSY

1шт.

6

588686R91

STUD AND PIN ASSY

1шт.

7

NS

NOT SERVICED

WASHER, not for service

1шт.

8

588687R1

FOLLOWER

1шт.

9

588685R1

SPRING

1шт.

10

588677R1

WASHER, plunger

1шт.

11

626907R1

RING,#18, Ext

Snap, #18, Ext

1шт.

12

588667R92

FOLLOWER ASSY

1шт.

13

588697R1

PLATE

1шт.

13

588697R1

PLATE

1шт.

179817

BOLT,Hex, 5/16" - 18 x 7/8", Gr 5, Full Thd

6шт.

103320

LOCK WASHER,5/16"

WASHER, LOCK, 5/16"

6шт.

14

588714R1

SCREEN

1шт.

15

588695R1

RESERVOIR

1шт.

16

355967R1

O-RING,0.364" ID x 0.003" Width

3/8 x 1/2 x 1/16

2шт.

17

588704R1

AXLE

1шт.

18

370290R1

SNAP RING,#50, .392" Dia, E-Type

Ring, Retaining, #50, .392" Dia, E-Type

4шт.

19

588692R1

WASHER

4шт.

20

588701R1

GEAR AND WORM

1шт.

21

140880

SCREW, No. 10-32 x 1/4 hex-soc set

2шт.

22

588698R1

GASKET

1шт.

23

588696R1

SHAFT

1шт.

103385

COTTER PIN,1/8" x 1"

PIN, SPLIT (COTTER), 1/8" x 1"

1шт.

Q5035

WASHER

17/32 x 1 x 16 ga

1шт.

24

588702R1

PLUG

1шт.

25

103883

PIPE PLUG,Slotted, Headless, 1/8" NPT

1/2 znd slt-headless pipe

1шт.

26

588705R1

PLUG

2шт.

27

NLS

NO LONGER SERVICED

CONNECTOR, 1/8-27 ball sleeve tube

1шт.

28

588716R1

HOUSING, base

1шт.

NLS

NO LONGER SERVICED

1/4-20 x 1-1/2 hex-soc-hd cap

6шт.

29

217-459

DRAIN PLUG,Sq Soc, 1/4" - 18 NPTF

1/4-28 automotive hex-soc-hd drain

3шт.

3-

NSS

NOT SOLD SEPARAT

(Not serviced separately), order 588668R91

1шт.

31

NSS

NOT SOLD SEPARAT

(Not serviced separately), order 588668R91

1шт.

32

NSS

NOT SOLD SEPARAT

(Not serviced separately), order 588668R91

1шт.

33

NSS

NOT SOLD SEPARAT

(Not serviced separately), order 588668R91

1шт.

34

588668R91

VALVE DEPRESSOR ASSY, repair kit

1шт.

35

NS

NOT SERVICED

VALVE, not for service

1шт.

36

588709R1

WASHER, 15/16

1шт.

37

588707R2

SEAT, valve

1шт.

38

364840R1

O-RING,0.07" Thk x 0.801" ID, -19, Cl 5, 75 Duro

15/16 OD

1шт.

39

588706R1

SPRING

1шт.

40

298389R1

RING

O-RING, 3/4 OD

1шт.

41

626908R1

WASHER

1шт.

42

588708R2

SCREW

1шт.

43

200623C1

BODY

1шт.

18607R1

LOCK PIN,1/8" x 3/4", Slotted

PIN, 1/8" x 3/4", Slotted

1шт.

44

NS

NOT SERVICED

WORM, not for service

1шт.

45

588694R1

WASHER

1шт.

46

252739R1

O-RING,0.103" Thk x 0.487" ID, -112, Cl 5, 75 Duro

1/2 x 11/16 x 3/32

1шт.

47

588690R1

GEAR, higher, 16T

1шт.

48

588691R1

GEAR, lower, 16t

1шт.

49

124543

WOODRUFF KEY,#3, 1/8" x 1/2", HT

1шт.

50

588689R2

HOUSING, gear

1шт.

51

588713R1

WASHER

GASKET

1шт.

52

NS

NOT SERVICED

BODY ASSY, not for service

1шт.

53

588693R1

SEAL

1шт.

54

588711R1

RETAINER

1шт.

55

588712R1

RING

1шт.

56

588710R1

RING

1шт.

57

588684R1

WASHER

1шт.

58

298099R1

RING

retaining

1шт.

59

588703R1

AXLE

1шт.

60

588670R91

CAM ASSY

1шт.

Выбрано товаров: 70