Запчасти Case IH 46 (54) - PICKUP DRIVE

Схема запчастей Case IH 46 - (54) - PICKUP DRIVE
FIT
1:1
100%

Артикул

Название

Примечание

Количество

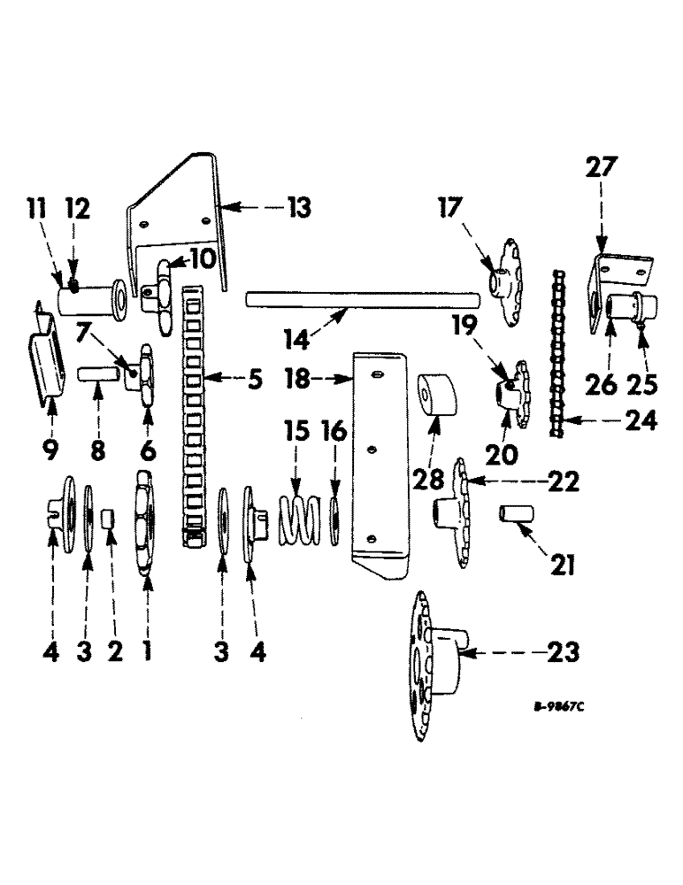
1

662023R1

DRIVE SPROCKET

SPROCKET, pickup slip clutch

1шт.

2

662079R1

BUSHING

pickup slip clutch sprocket

1шт.

3

662291R1

LINING

FACING, pickup drive clutch

2шт.

4

662026R2

HUB

pickup slip clutch

2шт.

616253R1

LOCK PIN,5/16" x 1 5/8", Slotted

Pin, 5/16" x 1 5/8", Slotted

2шт.

5

CA320

SPARE PART

CHAIN, pickup drive (Consists of 28 no. 55 steel links)

1шт.

6

656904R1

IDLER, pickup drive, front

1шт.

7

80710

LUBE NIPPLE,1/8” – 27 Dryseal PTF

NIPPLE, LUBE, 1/8"-27 x .66 lg

1шт.

8

666632R1

BEARING, pickup idler

1шт.

15173R1

BOLT

carriage, 7/16-14NC x 3-1/2"

1шт.

NLS

NO LONGER SERVICED

hex., 7/16-14NC

1шт.

103322

LOCK WASHER,7/16"

WASHER, LOCK, 7/16"

1шт.

PO105341/2

WASHER, plain, 15/32" ID x 1-1/2" OD x no. 11 ga.

1шт.

575810R1

WASHER

plain, 21/32" ID x 1-1/2" OD x no. 11 ga.

1шт.

9

662284R1

BRACKET, pickup idler

1шт.

14994R1

CARRIAGE BOLT,Sq Nk, 5/16" - 18 x 3/4", Gr 2

BOLT, CARRIAGE, Short NK, 5/16"-18 x 3/4", G2

2шт.

9635082

NUT,5/16" - 18, Gr 5

hex., 5/16-18NC

2шт.

103320

LOCK WASHER,5/16"

WASHER, LOCK, 5/16"

2шт.

10

662024R1

SPROCKET

pickup pivot drive shaft

1шт.

103384

COTTER PIN,1/8" x 3/4"

Pin, Split (Cotter), 1/8" x 3/4"

1шт.

Q1302

HEADED PIN,5/16" x 2 1/4"

PIN, std-hd., 5/16 x 2-1/4"

1шт.

11

662016R1

BUSHING,1.007" ID x 2.4375" OD x 3.625"

pivot, pickup drive shaft, right

1шт.

12

127743

LUBE NIPPLE,65 Degree, 1/8" NPT x 1.20" lg

FITTING, lubrication, 67-1/2 degree elbow, 1/8"

1шт.

13

662595R91

BRACKET, pivot, pickup drive shaft, right (Welded assembly)

1шт.

17427R1

BOLT, mach., hex-hd., 7/16-14NC x 1"

4шт.

17447R1

BOLT

mach., hex-hd., 7/16-14NC x 1-1/4"

2шт.

NLS

NO LONGER SERVICED

hex., 7/16-14NC

4шт.

103322

LOCK WASHER,7/16"

WASHER, LOCK, 7/16"

4шт.

14

662073R1

SHAFT, drive, pickup pivot

1шт.

Q3481

WASHER

plain, 1-1/32" OD x 1-1/2" OD x no. 16 ga.

2шт.

15

U13661

VALVE SPRING

SPRING, slip clutch, pickup

1шт.

16

662356R1

DISC

WASHER, retainer, slip clutch spring

1шт.

17

662003R1

SPROCKET

driven, pickup pivot (12 teeth)

1шт.

103384

COTTER PIN,1/8" x 3/4"

Pin, Split (Cotter), 1/8" x 3/4"

1шт.

1380S

PIN

std-hd., 5/16 x 1-3/4"

1шт.

18

662132R1

BRACKET, main drive idler

1шт.

17446R1

BOLT,3/8" - 16 x 1 1/4", Gr 2

mach., hex-hd., 3/8-16NC x 1-1/4"

2шт.

15563R1

BOLT,3/8"-16 x 1 1/4", G2, Full Thd

PLOW, (#3) 3/8"-16 x 1 1/4", G2, Full Thd

1шт.

102635

NUT,3/8"-16, G5

3шт.

103321

LOCK WASHER,3/8"

WASHER, LOCK, 3/8"

3шт.

127507H

WASHER

plain, 13/32" ID x 7/8" OD x no. 7 ga.

1шт.

Q1505

WASHER

plain, 13/32" ID x 1" OD x no. 16 ga.

1шт.

19

80710

LUBE NIPPLE,1/8” – 27 Dryseal PTF

NIPPLE, LUBE, , (57-61) 1/8"-27 x .66 lg

1шт.

20

662576R1

IDLER, main drive, rear (57-61)

1шт.

21

665351R1

BUSHING

pickup, idler stud

1шт.

425-1110

NUT,5/8"-18, G5

1шт.

14-1052

BOLT,Hex, 5/8" - 18 x 3-1/4"

SCREW, cap, hex-hd., 5/8-18NF x 3-1/4"

1шт.

103325

LOCK WASHER,5/8"

WASHER, LOCK, 5/8"

1шт.

10620P

WASHER

plain, 21/32" ID x 1-1/2" OD x no. 16 ga.

1шт.

22

662575R1

GEAR

IDLE, main drive, front

1шт.

23

662025R1

DRIVE SPROCKET

SPROCKET, drive, pickup

1шт.

17673R1

BOLT,Hex, 3/8" - 16 x 3 1/2", Gr 2

mach., hex-hd., 3/8-16NC X 3-1/2"

1шт.

102635

NUT,3/8"-16, G5

1шт.

103321

LOCK WASHER,3/8"

WASHER, LOCK, 3/8"

1шт.

24

CHAIN, drive, main pickup (Use 84 links of 1-1/4" extended pitch agricultural roller chain from 10 ft. roll marked 569089R91, 1 connecting link 456980R91)

1шт.

25

332040

LUBE NIPPLE,90 Degree, 1/8" NPT x .84" lg

FITTING, lubrication, 90 degree elbow, 1/8"

1шт.

26

656881R1

BOX

bearing, pickup drive shaft

1шт.

103384

COTTER PIN,1/8" x 3/4"

Pin, Split (Cotter), 1/8" x 3/4"

1шт.

27

662140R1

BRACKET, pivot, pickup drive shaft, left

1шт.

17427R1

BOLT, mach., hex-hd., 7/16-14NC x 1"

2шт.

NLS

NO LONGER SERVICED

hex., 7/16-14NC

2шт.

103322

LOCK WASHER,7/16"

WASHER, LOCK, 7/16"

2шт.

28

668147R1

BLOCK

TIGHTENER, block (62- )

1шт.

102639

NUT,5/8"-11, G5

1шт.

13-1052

BOLT,Hex, 5/8" - 11 x 3-1/4", Gr 5

SCREW, cap, hex-hd., 5/8-11NC x 3-1/4"

1шт.

103325

LOCK WASHER,5/8"

WASHER, LOCK, 5/8"

1шт.

575810R1

WASHER

plain, 21/32" ID x 1-1/2" OD x no. 11 ga.

2шт.

80710

LUBE NIPPLE,1/8” – 27 Dryseal PTF

NIPPLE, LUBE, (In 662575R1 idler) 1/8"-27 x .66 lg

1шт.

Выбрано товаров: 68