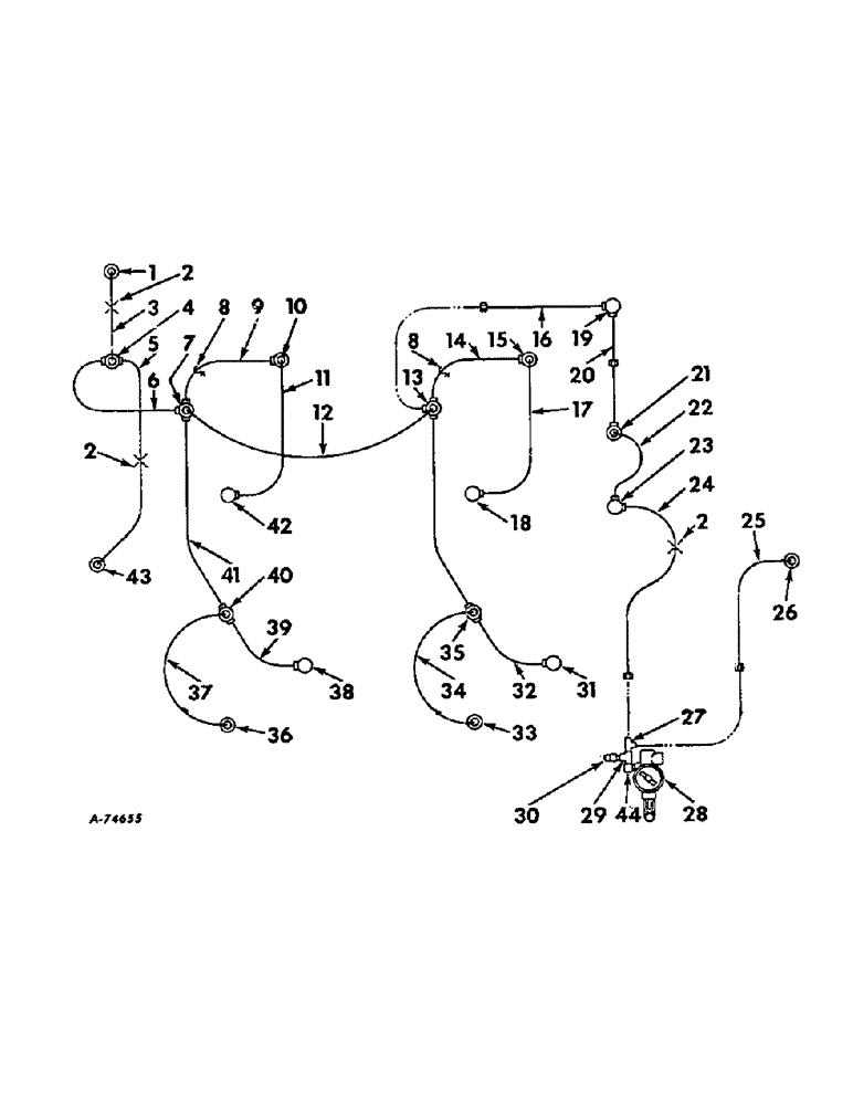
Запчасти Case IH 47 (B-63) - CENTRALIZED LUBRICATION ATTACHMENT VALVES, TUBING & FITTINGS

Схема запчастей Case IH 47 - (B-63) - CENTRALIZED LUBRICATION ATTACHMENT VALVES, TUBING & FITTINGS
FIT
1:1
100%

Артикул

Название

Примечание

Количество

1

585856R91

VALVE ASSY, top terminating, plunger stop pivot

1шт.

1

109461

LUBE NIPPLE,1/8"-27 x .66 lg

NIPPLE, LUBE, , PTF 1/8"-27 x .66 lg

1шт.

2

362120R1

CLAMP,9.53mm ID, 10.32mm Bolt Hole, P Type

CLIP, for 3/8 bolt

2шт.

3

NYLON TUBING, lub, 33 in., see Note B

1шт.

4

585865R91

VALVE ASSY, 180 deg top, knotter shaft

1шт.

4

87414

LUBE NIPPLE,1/4" - 28

FITTING, 1/4 self tap. lub

1шт.

5

NYLON TUBING, lub, 36-1/2 in., see Note B

1шт.

6

NYLON TUBING, lub, 8-1/2 in., see Note B

1шт.

7

668598R91

VALVE ASSY, top and tee, knotter frame pivot

1шт.

7

580256R1

ADAPTER,45 Degree, 1/8"-27

1/8 x 45 deg elbow

1шт.

7

109461

LUBE NIPPLE,1/8"-27 x .66 lg

NIPPLE, LUBE, , PTF 1/8"-27 x .66 lg

1шт.

8

668555R1

CLIP, tubing

2шт.

166684

COVER PLATE

SCREW, No. 10-32 x 3/8 cd-pltd cr-rec-rd-hd tap

2шт.

9

NYLON TUBING, lub, 9-1/2 in, see Note B

1шт.

10

588291R91

VALVE ASSY, 90 deg top, upper Bill Hook drive shaft

1шт.

10

586983R1

ADAPTER, 1/8 x 90 deg elbow

1шт.

10

109461

LUBE NIPPLE,1/8"-27 x .66 lg

NIPPLE, LUBE, , PTF 1/8"-27 x .66 lg

1шт.

11

NYLON TUBING, lub, 4-1/2 in., see Note B

1шт.

12

NYLON TUBING, lub, 17-1/2 in., see Note B

1шт.

13

668598R91

VALVE ASSY, top and tee, knotter frame pivot

1шт.

13

580256R1

ADAPTER,45 Degree, 1/8"-27

1/8 x 45 deg elbow

1шт.

13

109461

LUBE NIPPLE,1/8"-27 x .66 lg

NIPPLE, LUBE, , PTF 1/8"-27 x .66 lg

1шт.

14

NYLON TUBING, lub, 9-1/2 in., see Note B

1шт.

15

588291R91

VALVE ASSY, 90 deg terminating, upper Bill Hook drive shaft

1шт.

15

586983R1

ADAPTER, 1/8 x 90 deg elbow

1шт.

15

109461

LUBE NIPPLE,1/8"-27 x .66 lg

NIPPLE, LUBE, , PTF 1/8"-27 x .66 lg

1шт.

16

NYLON TUBING, lub, 19 in., see Note B

1шт.

17

NYLON TUBING, lub, 4-1/2 in., see Note B

1шт.

18

585857R91

VALVE ASSY, 90 in. terminating, lower Bill Hook drive shaft

1шт.

18

668803R1

ADAPTER, 1/4 x 90 deg elbow

1шт.

18

109461

LUBE NIPPLE,1/8"-27 x .66 lg

NIPPLE, LUBE, , PTF 1/8"-27 x .66 lg

1шт.

19

631345R91

VALVE ASSY, 90 deg elbow, rear packer shaft front bearing

1шт.

19

109461

LUBE NIPPLE,1/8"-27 x .66 lg

NIPPLE, LUBE, , PTF 1/8"-27 x .66 lg

1шт.

20

NYLON TUBING, lub, 7 in., see Note B

1шт.

21

668802R91

VALVE ASSY, 90 deg top, knotter drive gear insert

1шт.

21

87414

LUBE NIPPLE,1/4" - 28

FITTING, 1/4 self tap lub

1шт.

22

NYLON TUBING, lub, 11 in., see Note B

1шт.

23

631345R91

VALVE ASSY, 90 deg elbow, packer shaft rear bearing

1шт.

23

109461

LUBE NIPPLE,1/8"-27 x .66 lg

NIPPLE, LUBE, , PTF 1/8"-27 x .66 lg

1шт.

24

NYLON TUBING, lub, 24-1/2 in., see Note B

1шт.

25

NYLON TUBING, lub, 11 in., see note B

1шт.

26

585854R91

VALVE ASSY, top terminating, needle pivot bearing

1шт.

26

580256R1

ADAPTER,45 Degree, 1/8"-27

1/8 x 45 deg elbow

1шт.

26

109461

LUBE NIPPLE,1/8"-27 x .66 lg

NIPPLE, LUBE, , PTF 1/8"-27 x .66 lg

1шт.

27

585594R1

BODY, tee

1шт.

28

668621R91

PUMP, grease

1шт.

29

444253

TEE,1/8"-27 Fem x Male Run x Fem Br, Brass

1/8 automotive pipe

1шт.

30

585589R91

INDICATOR, pressure

1шт.

31

585857R91

VALVE ASSY, 90 deg terminating, cord holder shaft

1шт.

31

580257R1

ADAPTER,60 Degree, 1/8"-27

1/8 x 60 deg elbow

1шт.

31

109461

LUBE NIPPLE,1/8"-27 x .66 lg

NIPPLE, LUBE, , PTF 1/8"-27 x .66 lg

1шт.

32

NYLON TUBING, lub, 5-1/2 in., see Note B

1шт.

33

585854R91

VALVE ASSY, top terminating, lower cord holder pinion shaft

1шт.

33

109461

LUBE NIPPLE,1/8"-27 x .66 lg

NIPPLE, LUBE, , PTF 1/8"-27 x .66 lg

1шт.

35

585865R91

HOLDER ASSY, 180 deg top, upper cord holder pinion shaft

1шт.

35

585626R1

ADAPTER, 1/8 x 20 deg elbow

1шт.

35

109461

LUBE NIPPLE,1/8"-27 x .66 lg

NIPPLE, LUBE, , PTF 1/8"-27 x .66 lg

1шт.

36

585854R91

VALVE ASSY, top terminating, lower cord holder pinion shaft

1шт.

36

109461

LUBE NIPPLE,1/8"-27 x .66 lg

NIPPLE, LUBE, , PTF 1/8"-27 x .66 lg

1шт.

37

NYLON TUBING, lub, 5-1/2 in., see Note B

1шт.

38

585857R91

VALVE ASSY, 90 deg termination, cord holder shaft

1шт.

38

580257R1

ADAPTER,60 Degree, 1/8"-27

1/8 x 60 deg elbow

1шт.

38

109461

LUBE NIPPLE,1/8"-27 x .66 lg

NIPPLE, LUBE, , PTF 1/8"-27 x .66 lg

1шт.

39

NYLON TUBING, lub, 5-1/2 in., see Note B

1шт.

40

585865R91

VALVE ASSY, 180 deg top, upper cord holder pinion shaft

1шт.

40

585626R1

ADAPTER, 1/8 x 20 deg elbow

1шт.

40

109461

LUBE NIPPLE,1/8"-27 x .66 lg

NIPPLE, LUBE, , PTF 1/8"-27 x .66 lg

1шт.

41

NYLON TUBING, lub, 5-1/2 in., see Note B

1шт.

42

585857R91

VALVE ASSY, 90 deg terminating, lower Bill Hook drive shaft

1шт.

42

668803R1

ADAPTER, 1/4 x 90 deg elbow

1шт.

42

109461

LUBE NIPPLE,1/8"-27 x .66 lg

NIPPLE, LUBE, , PTF 1/8"-27 x .66 lg

1шт.

43

585854R91

VALVE ASSY, top terminating, needle pivot bearing

1шт.

43

586983R1

ADAPTER, 1/8 x 90 deg elbow

1шт.

43

109461

LUBE NIPPLE,1/8"-27 x .66 lg

NIPPLE, LUBE, , PTF 1/8"-27 x .66 lg

1шт.

44

586983R1

ADAPTER, 1/8 x 90 deg elbow, in pump

1шт.

Выбрано товаров: 75