Запчасти Case IH 47 (B-65) - CENTRALIZED LUBRICATION ATTACHMENT VALVES, TUBING & FITTINGS

Схема запчастей Case IH 47 - (B-65) - CENTRALIZED LUBRICATION ATTACHMENT VALVES, TUBING & FITTINGS
FIT
1:1
100%

Артикул

Название

Примечание

Количество

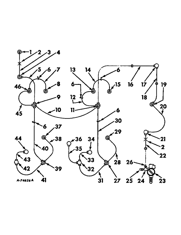
1

585856R91

VALVE ASSY, top terminating, plunger stop pivot

1шт.

1

109461

LUBE NIPPLE,1/8"-27 x .66 lg

NIPPLE, LUBE, , PTF 1/8"-27 x .66 lg

1шт.

2

362120R1

CLAMP,9.53mm ID, 10.32mm Bolt Hole, P Type

CLIP, for 3/8 in. bolt

2шт.

3

NYLON TUBING, lub, 33 in. see Note B

1шт.

4

588291R91

VALVE ASSY, 90 deg terminating, left twister shaft

1шт.

4

87414

LUBE NIPPLE,1/4" - 28

FITTING, 1/4 self tap. lub

1шт.

5

NYLON TUBING, lub, 8-1/2, see Note B

1шт.

6

668555R1

CLIP, tubing

5шт.

166684

COVER PLATE

SCREW, No. 10 x 3/8 cd-pltd cr-rec rd-hd tap

5шт.

7

NYLON TUBING, lub. 7 in., see Note B

1шт.

8

585854R91

VALVE ASSY, top terminating, lower left wire hook shaft

1шт.

8

586983R1

ADAPTER, 1/8 x 90 deg elbow

1шт.

8

109461

LUBE NIPPLE,1/8"-27 x .66 lg

NIPPLE, LUBE, , PTF 1/8"-27 x .66 lg

1шт.

9

668598R91

VALVE ASSY, top and tee, left wire twister frame

1шт.

9

580256R1

ADAPTER,45 Degree, 1/8"-27

1/8 x 45 deg elbow

1шт.

9

109461

LUBE NIPPLE,1/8"-27 x .66 lg

NIPPLE, LUBE, , PTF 1/8"-27 x .66 lg

1шт.

10

NYLON TUBING, lub, 19 in., see Note B

1шт.

11

668598R91

VALVE ASSY, top and tee, right wire twister frame

1шт.

11

580256R1

ADAPTER,45 Degree, 1/8"-27

1/8 x 45 deg elbow

1шт.

11

109461

LUBE NIPPLE,1/8"-27 x .66 lg

NIPPLE, LUBE, , PTF 1/8"-27 x .66 lg

1шт.

12

NYLON TUBING, lub, 8 in., see Note B

1шт.

13

588291R91

VALVE ASSY, 90 deg terminating, upper right wire hook shaft

1шт.

13

580256R1

ADAPTER,45 Degree, 1/8"-27

1/8 x 45 deg elbow

1шт.

13

109461

LUBE NIPPLE,1/8"-27 x .66 lg

NIPPLE, LUBE, , PTF 1/8"-27 x .66 lg

1шт.

14

NYLON TUBING, lub, 7 in., see Note B

1шт.

15

585854R91

VALVE ASSY, top terminating, lower right wire hook shaft

1шт.

15

586983R1

ADAPTER, 1/8 x 90 deg elbow

1шт.

15

109461

LUBE NIPPLE,1/8"-27 x .66 lg

NIPPLE, LUBE, , PTF 1/8"-27 x .66 lg

1шт.

16

NYLON TUBING, lub, 15-1/2 in., see Note B

1шт.

17

631345R91

VALVE ASSY, 90 deg elbow, rear packer shaft front bearing

1шт.

17

109461

LUBE NIPPLE,1/8"-27 x .66 lg

NIPPLE, LUBE, , PTF 1/8"-27 x .66 lg

1шт.

18

NYLON TUBING, lub, 7 in., see Note B

1шт.

19

668802R91

VALVE ASSY, 90 deg top, twister drive gear insert

1шт.

19

87414

LUBE NIPPLE,1/4" - 28

FITTING, 1/4 self tap. lub

1шт.

20

NYLON TUBING, lub, 9 in., see Note B

1шт.

21

631345R91

VALVE ASSY, 90 deg elbow, rear packer shaft rear bearing

1шт.

21

109461

LUBE NIPPLE,1/8"-27 x .66 lg

NIPPLE, LUBE, , PTF 1/8"-27 x .66 lg

1шт.

22

NYLON TUBING, lub, 22 in., see Note B

1шт.

23

668621R91

PUMP, grease

1шт.

24

444253

TEE,1/8"-27 Fem x Male Run x Fem Br, Brass

1/8 automotive pipe

1шт.

25

585589R91

INDICATOR, pressure

1шт.

26

192159

SEAT BELT

ADAPTER

1шт.

27

668599R91

VALVE ASSY, 90 deg top elbow, lower right disc pinion shaft

1шт.

27

580256R1

ADAPTER,45 Degree, 1/8"-27

1/8 x 45 deg elbow

1шт.

27

109461

LUBE NIPPLE,1/8"-27 x .66 lg

NIPPLE, LUBE, , PTF 1/8"-27 x .66 lg

1шт.

28

NYLON TUBING, lub, 6-1/2 in., see Note B

1шт.

29

585854R91

VALVE ASSY, top terminating, upper right disc pinion shaft

1шт.

29

580256R1

ADAPTER,45 Degree, 1/8"-27

1/8 x 45 deg elbow

1шт.

29

109461

LUBE NIPPLE,1/8"-27 x .66 lg

NIPPLE, LUBE, , PTF 1/8"-27 x .66 lg

1шт.

30

NYLON TUBING, lub, 10-1/2 in. see Note B

1шт.

31

NYLON TUBING, lub, 7 in., see Note B

1шт.

32

668600R91

VALVE ASSY, tee, upper right wire holder shaft

1шт.

32

109461

LUBE NIPPLE,1/8"-27 x .66 lg

NIPPLE, LUBE, , PTF 1/8"-27 x .66 lg

1шт.

33

NYLON TUBING, lub, 5-1/2 in., see Note B

1шт.

34

585857R91

VALVE ASSY, 90 deg terminating, lower right wire holder shaft

1шт.

35

NYLON TUBING, lub, 4 in., see Note B

1шт.

36

668601R91

VALVE ASSY, 90 deg terminating stripper actuator pivot

1шт.

36

109461

LUBE NIPPLE,1/8"-27 x .66 lg

NIPPLE, LUBE, , PTF 1/8"-27 x .66 lg

1шт.

37

585854R91

VALVE ASSY, top terminating, upper left disc pinion shaft

1шт.

37

580256R1

ADAPTER,45 Degree, 1/8"-27

1/8 x .45 deg elbow

1шт.

37

109461

LUBE NIPPLE,1/8"-27 x .66 lg

NIPPLE, LUBE, , PTF 1/8"-27 x .66 lg

1шт.

38

NYLON TUBING, lub, 6-1/2 in., see Note B

1шт.

39

668599R91

VALVE ASSY, 90 deg top, lower left disc pinion shaft

1шт.

39

580256R1

ADAPTER,45 Degree, 1/8"-27

1/8 x 45 deg elbow

1шт.

39

109461

LUBE NIPPLE,1/8"-27 x .66 lg

NIPPLE, LUBE, , PTF 1/8"-27 x .66 lg

1шт.

40

NYLON TUBING, lub, 10-1/2 in., see Note B

1шт.

41

NYLON TUBING, lub, 7 in., see Note B

1шт.

42

585861R91

VALVE ASSY, 180 deg, upper left wire holder shaft

1шт.

42

109461

LUBE NIPPLE,1/8"-27 x .66 lg

NIPPLE, LUBE, , PTF 1/8"-27 x .66 lg

1шт.

43

NYLON TUBING, lub, 5-1/2 in., see Note B

1шт.

44

585857R91

VALVE ASSY, 90 deg terminating, lower left wire holder shaft

1шт.

44

109461

LUBE NIPPLE,1/8"-27 x .66 lg

NIPPLE, LUBE, , PTF 1/8"-27 x .66 lg

1шт.

45

NYLON TUBING, lub, 8 in., see Note B

1шт.

46

588291R91

VALVE ASSY, 90 deg terminating, upper left wire hook shaft

1шт.

46

580256R1

ADAPTER,45 Degree, 1/8"-27

1/8 x 45 deg elbow

1шт.

46

109461

LUBE NIPPLE,1/8"-27 x .66 lg

NIPPLE, LUBE, , PTF 1/8"-27 x .66 lg

1шт.

Выбрано товаров: 76