Запчасти Case IH 57 (A-22) - PICKUP CYLINDER AND DRIVE

Схема запчастей Case IH 57 - (A-22) - PICKUP CYLINDER AND DRIVE
FIT
1:1
100%

Артикул

Название

Примечание

Количество

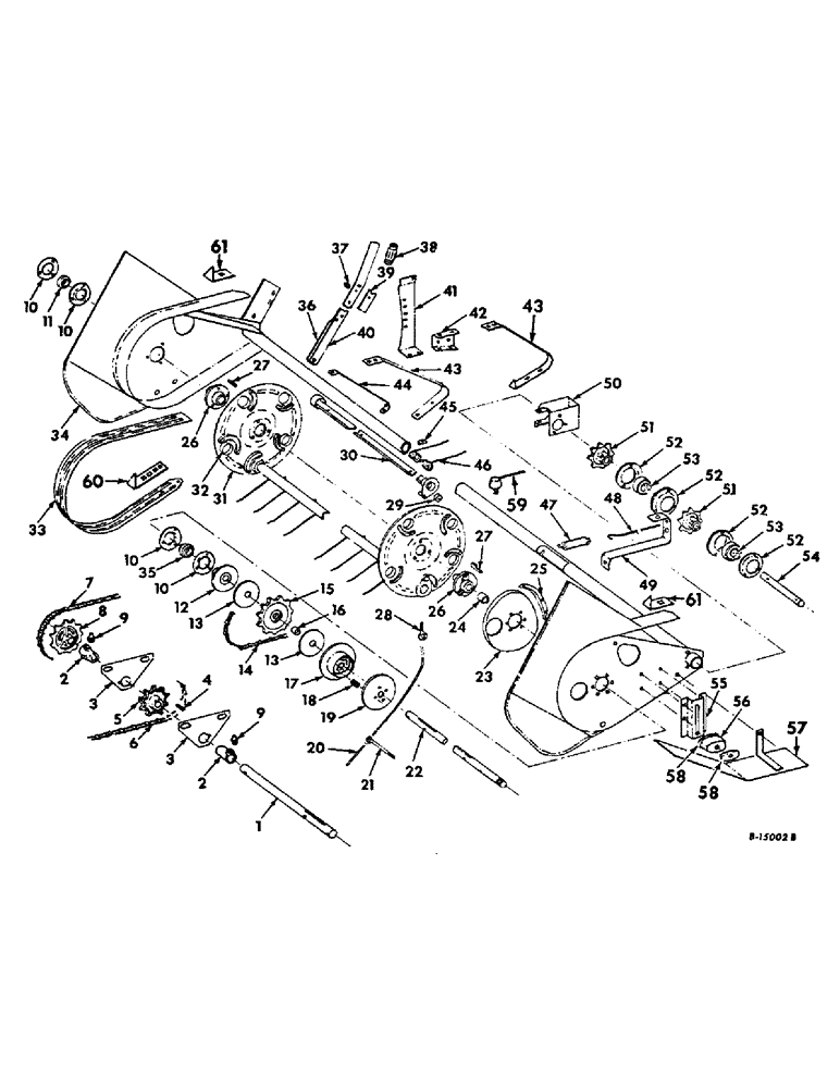
1

663428R1

JACKSHAFT, combination drive

1шт.

PIN, 3/16 x 1-1/2 cot.

1шт.

Q5036

WASHER

1-1/32 x 1-3/4 x 16 ga

4шт.

2

656881R1

BOX

BEARING, jackshaft drive

2шт.

PIN, 1/8 x 3/4 cot.

2шт.

3

663416R1

BRACKET, jackshaft bearing

2шт.

BOLT, 7/16-14 x 1-3/4 sq-nk crg

1шт.

NUT, 7/16-14 hex.

4шт.

WASHER, 7/16 med lock

4шт.

4

657932R1

KEY, 5/16 x 3/8 drive sprocket

1шт.

5

657974R1

SPROCKET, drive

1шт.

BOLT, 7/16-14 x 2-1/2 hex-hd mach

1шт.

NUT, 7/16-14 hex.

1шт.

WASHER, 7/16 med lock

1шт.

6

EA758F

CHAIN ASSY, pickup jackshaft drive, 46 links No. 55 chain

1шт.

7

Y14551

CHAIN ASSY, pickup jackshaft to countershaft drive, 42 links, No. 55 chain

1шт.

8

664544R1

SPROCKET, pickup drive

1шт.

PIN, 1/8 x 3/4 cot.

1шт.

Q1302

HEADED PIN,5/16" x 2 1/4"

PIN, 5/16 x 2-1/4 std-hd

1шт.

9

332040

LUBE NIPPLE,90 Degree, 1/8" NPT x .84" lg

FITTING, 1/8-27 PTF 90 deg angle lub

2шт.

10

671682R1

NO LONGER SERVICED

FLANGE, pickup cylinder bearing

4шт.

12872R1

BOLT,Short NK, 5/16"-18 x 1", G2, Full Thd

CARRIAGE, Short NK, 5/16"-18 x 1", G2, Full Thd

6шт.

120376

NUT,5/16"-18, G5

6шт.

80681

LOCK WASHER,5/16"

WASHER, LOCK, 5/16"

6шт.

11

671681R91

BEARING ASSY,25.43mm ID x 52.09mm OD x 16mm W

ASSY, pickup cylinder

1шт.

12

662026R2

HUB

slip clutch

1шт.

576482R1

LOCK PIN,5/16" x 2", Slotted

1шт.

13

662291R1

LINING

FACING, pickup drive clutch

2шт.

14

CA320

SPARE PART

CHAIN ASSY, pickup cylinder drive, 28 links, No. 55 chain

1шт.

15

662023R1

DRIVE SPROCKET

SPROCKET, pickup slip clutch

1шт.

16

662079R1

BUSHING

pickup clutch sprocket

1шт.

17

667711R1

HUB, pickup lift

1шт.

576482R1

LOCK PIN,5/16" x 2", Slotted

1шт.

18

T576M

SPRING

pickup slip clutch

4шт.

19

667712R1

RETAINER, slip clutch spring

1шт.

20

ROPE, pickup lift, purchase locally, 3/8 in. x 20 ft. nylon rope, type 707

1шт.

21

668574R1

BOLT, pickup rope guide eye

2шт.

NUT, 7/16-14 hex.

4шт.

22

663332R1

SHAFT

pickup cylinder drive

1шт.

427652

SLOTTED NUT,1"-14, G5

NUT, 1-14 znd slt hex.

1шт.

137258

COTTER PIN

3/16" x 1 3/4"

1шт.

21788R1

WASHER

1-1/32 x 1-7/16 x 18 ga

1шт.

21789R1

WASHER

1-1/32 x 1-1/4 x 16 ga, for twine baler

1шт.

20529R1

PIN,7/32" x 1 1/2", Slotted

1шт.

23

662317R2

CAM

pickup tooth control

1шт.

24

661036R1

SPACER

pickup cylinder shaft inner

1шт.

25

662318R11

GUIDE

ASSY, tooth bar roller

1шт.

550827R1

NUT, 5/16-18 weld pilot std

1шт.

114662

SCREW

5/16-18 x 5/8 slt-f-hd mach

1шт.

WASHER, 5/16 csk ext tooth lock

1шт.

26

659942R1

HUB

pickup cylinder

2шт.

BOLT, 5/16-18 x 1 hex-hd mach

6шт.

NUT, 5/16-18 hex.

6шт.

PIN, 1/8 x 3/4 cot.

2шт.

V4941/2

PIN

5/16 x 2 std-hd

2шт.

WASHER, 5/16 med lock

6шт.

27

Q3931

KEY,Gib, 5/16" Sq x 1 7/8"

5/16 x 1-7/8 gib

2шт.

28

667934R1

BOLT (SPREADER)

BOLT, pickup lift rope eye

1шт.

NUT, 3/8-16 hex.

2шт.

29

ST543

BALL BEARING,15mm ID x 35mm OD x 11mm W

BEARING ASSY, pickup cyl tine control

5шт.

30

663330R92

BAR

ASSY, pickup tooth

5шт.

137273

COTTER PIN

PIN, 3/16 x 2-1/2 C-Z cot.

5шт.

21787R1

WASHER

2-1/32 x 2-15/16 x 16 ga C-Z, (or as required)

20шт.

31

495489R31

DISC

END W/BUSHINGS PICKUP CYLINDER

2шт.

32

659437R1

BUSHING

pickup cylinder end

10шт.

33

662316R1

STRIPPER

pickup

13шт.

34

668611R91

FRAME ASSY, pickup

1шт.

34

668980R91

CYLINDER ASSY, pickup, consists of ref. Nos. 12, 13, 15, 16, 17, 18, 19, 22, 23, 24, 25, 26, 29, 30, 31, 32, 33, 34, 43, 44, 45, 46, 52, 53, 55

1шт.

35

155264C91

BALL BEARING,25.43mm ID x 52.09mm OD x 16mm W

ASSY, pickup cylinder drive side (replaces 155264R91 )

1шт.

36

662417R1

ARM, pickup lever floating

1шт.

104099

RIVET,But Hd, 5/16" x 1"

5/16 x 1 rd-hd solid

2шт.

PIN, 3/16 x 1-1/4 cot.

1шт.

663922R1

PIN,5/8" x 1 3/8"

5/8 x 1-3/8 cd-pltd std-hd

1шт.

37

18489D

SPRING

pickup lever clip

1шт.

PIN, 1/8 x 3/4 cot.

1шт.

U5353

DOWEL

PIN, 5/16 x 2-3/16 std-hd

1шт.

Q397

WASHER

11/32 x 3/4 x 16 ga

1шт.

38

662340R1

GRIP

lever, replaces 666930R1

1шт.

39

662506R1

CLIP

pickup lever

1шт.

40

662415R91

LEVER

ASSY, pickup

1шт.

41

662419R1

QUADRANT, pickup lever

1шт.

42

668612R1

BRACKET, quadrant

1шт.

BOLT, 5/16-18 x 3/4 short sq-nk crg

3шт.

NUT, 5/16-18 hex.

3шт.

WASHER, 5/16 med lock

3шт.

WASHER, 3/8 x 1-1/8 x .065 ga

1шт.

43

662315R1

SUPPORT

pickup stripper

13шт.

43

201746C1

SUPPORT, pickup stripper, special, used w/rubber pickup tines 1970 and up

13шт.

44

662314R1

BRACE

pickup stripper

13шт.

BOLT, 1/4-20 x 1/2 short sq-nk crg

26шт.

BOLT, 1/4-20 x 3/4 short sq-nk crg

26шт.

BOLT, 3/8-16 x 2-1/2 hex-hd mach

13шт.

NUT, 1/4-20 hex.

52шт.

NUT, 3/8-16 hex.

13шт.

WASHER, 1/4 med lock

52шт.

WASHER, 3/8 med lock

13шт.

45

27513K

CUP WASHER

WASHER, pickup cylinder spring tooth

35шт.

46

MA74528

SPRING

pickup tooth

35шт.

BOLT, 5/16-18 x 1 short sq-nk crg

35шт.

NUT, 5/16-18 hex.

35шт.

WASHER, 5/16 med lock

35шт.

47

MA731

SPRING

balance

1шт.

48

662303R1

BOLT, balance spring

1шт.

NUT, 3/8-16 hex.

1шт.

49

665570R1

BRACKET, balance spring

1шт.

BOLT, 3/8-16 x 1 hex-hd mach

1шт.

BOLT, 3/8-16 x 3-3/4 hex-hd mach

1шт.

NUT, 3/8-16 hex.

2шт.

WASHER, 3/8 med lock

2шт.

50

668613R91

BRACKET ASSY, pickup drive & inner pivot

1шт.

BOLT, 1/2-13 x 4 hex-hd mach

2шт.

NUT, 1/2-13 hex.

2шт.

PIN, 1/8 x 3/4 cot.

1шт.

Q530

HEADED PIN,7.92mm OD x 63.5mm L

PIN, 5/16 x 2-1/2 std-hd

1шт.

WASHER, 1/2 med lock

2шт.

51

662024R2

DRIVE SPROCKET

SPROCKET, pickup driven

2шт.

22004R1

LOCK PIN,3/16" x 2", Slotted

Pin, 3/16" x 2", Slotted

2шт.

21651R1

LOCK PIN,5/16" x 2", Slotted

Pin, 5/16" x 2", Slotted

2шт.

52

671682R1

NO LONGER SERVICED

FLANGE, pickup drive bearing

4шт.

53

671681R91

BEARING ASSY,25.43mm ID x 52.09mm OD x 16mm W

ASSY, pickup drive

2шт.

54

668615R1

SHAFT, pickup drive

1шт.

PIN, 3/16 x 1-1/2 cot.

1шт.

Q3480

WASHER

1-1/32 x 1-1/2 x 11 ga, (or as required)

2шт.

55

667718R1

BRACKET

pickup idler

1шт.

BOLT, 5/8-11 x 3-1/4 sq-nk crg

1шт.

56

668147R1

BLOCK

pickup chain tightener

1шт.

57

662297R91

SHIELD

ASSY, pickup drive

1шт.

BOLT, 5/16-18 x 3/4 cd-pltd short sq-nk crg

1шт.

BOLT, 7/16 x 3/4 cd-pltd hex-hd mach

1шт.

NUT, 5/16-18 cd-pltd hex.

1шт.

WASHER, 5/16 cd-pltd med lock

1шт.

WASHER, 7/16 cd-pltd med lock

1шт.

58

673666R1

CAP

block tightener end, 3745N up

1шт.

16897R1

CARRIAGE BOLT,Short Nk, 5/16" - 18 x 3/4", Gr 2, Full Thd

BOLT, 5/16-18 x 3/4 znd short sq-nk crg

4шт.

120376

NUT,5/16"-18, G5

4шт.

280374

NUT,Hex, 5/8" - 11, Gr 5

5/8-11 znd hex.

1шт.

80681

LOCK WASHER,5/16"

WASHER, LOCK, 5/16"

4шт.

20511R1

WASHER, 5/8 C-Z med lock

1шт.

21782R1

WASHER

21/32 x 1-1/2 x 16 ga C-Z

1шт.

59

200499C1

FINGER

TINE, pickup rubber, special

70шт.

120376

NUT,5/16"-18, G5

70шт.

80681

LOCK WASHER,5/16"

WASHER, LOCK, 5/16"

70шт.

60

201700C1

DEFLECTOR, tine, special, used w/rubber pickup tines thru 1969

13шт.

18627R1

CARRIAGE BOLT,Short Sq Nk, 1/4" - 20 x 1", Gr 2

BOLT, 1/4 x 1 znd sq-nk crg

13шт.

61

201738C1

RETAINER

end tine, special, used w/rubber pickup tines

2шт.

16897R1

CARRIAGE BOLT,Short Nk, 5/16" - 18 x 3/4", Gr 2, Full Thd

BOLT, 5/16 x 3/4 znd sq-nk crg

2шт.

120376

NUT,5/16"-18, G5

2шт.

80681

LOCK WASHER,5/16"

WASHER, LOCK, 5/16"

2шт.

Выбрано товаров: 148