Запчасти Case IH 8580 (09-06) - DECALS AND LOCATION DIAGRAM, OPERATIONAL Decals & Attachments

Схема запчастей Case IH 8580 - (09-06) - DECALS AND LOCATION DIAGRAM, OPERATIONAL Decals & Attachments
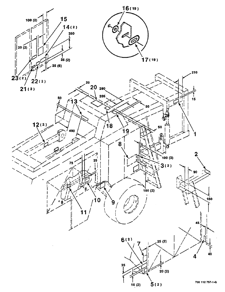
19
5
15
13
16
12
4
3
1
18
20
9
2
17
7
22
10
21
11
23
8
14
6
FIT
1:1
100%

Артикул

Название

Примечание

Количество

1

8877359

DECAL

- caution

1шт.

2

779199

DECAL

- warning

1шт.

3

878660

REFLECTOR

- red

2шт.

4

878694

REFLECTOR

- amber

1шт.

5

700714229

DECAL

- warning

2шт.

6

7888175

DECAL

- danger

2шт.

7

7178999

DECAL

- shear bolt

1шт.

8

8877995

DECAL

- twine, route

1шт.

9

700706990

DECAL

- twine, tension

1шт.

10

700710041

DECAL

- lube

1шт.

11

8877334

DECAL

- knotter, drive

1шт.

12

700706647

DECAL

- notice

2шт.

13

8888026

DECAL

- tensioner

1шт.

14

700700036

DECAL

- danger

2шт.

15

8888000

DECAL

- twine, route

1шт.

16

700709866

WASHER

- washer, camloc

19шт.

17

700709867

DECAL

- slot, camloc

19шт.

18

8888018

DECAL

- twine, route

1шт.

19

8877730

DECAL

- lube, instructions

1шт.

20

700710040

DECAL

- lube

1шт.

21

7079130

DECAL

- tire pressure

2шт.

22

7877533

DECAL

- torque

2шт.

23

700708190

DECAL

- twine spec

2шт.

Выбрано товаров: 23