Запчасти Case IH 8580 (02-08) - DRIVELINE ASSEMBLY, IMPLEMENT, 1000 RPM-TYPE 2, SN CFH0026553 AND LATER Driveline

Схема запчастей Case IH 8580 - (02-08) - DRIVELINE ASSEMBLY, IMPLEMENT, 1000 RPM-TYPE 2, SN CFH0026553 AND LATER Driveline
8
18
7
16
12
9
10
5
2
1
4
3
11
15
14
6
13
17
FIT
1:1
100%

Артикул

Название

Примечание

Количество

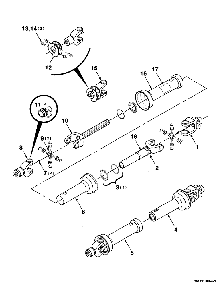
1

700712517

YOKE

1-3/4" X 20 SPLINE YOKE - implement

1шт.

2

700712445

YOKE

AND TUBE

1шт.

3

700712579

BEARING ASSY

BEARING AND RETAINER KIT

2шт.

4

700712443

REAR PTO ASSY

U-JOINT ASSEMBLY - half, implement

1шт.

5

700712444

PTO

U-JOINT ASSEMBLY - half, tractor

1шт.

6

700712446

SHIELD

- inner

1шт.

7

219-40

LUBE NIPPLE,65 Degree Elbow, 1/8" - 27 NPTF

1/8 PTF X 65 DEGREE ZERK

2шт.

8

8802548

FORK

1-3/8" X 21 SPLINE YOKE - tractor, QD

1шт.

9

470077R91

BEARING ASSY,1.025" ID x 1.5325" OD x 4.309"

CROSS AND BEARING KIT (Includes item 7)

2шт.

10

700706966

YOKE

- shaft

1шт.

11

700710928

REPAIR KIT

S S L - yoke, repair kit

1шт.

12

700712475

CLAMP

ASSEMBLY - yoke

1шт.

13

326-848

BOLT,Hex, 1/2" - 13 x 3", Gr 8

2шт.

14

230-4118

LOCK NUT,1/2"-13, GA

1/2-13 HTLN GR/B

2шт.

15

700712474

YOKE

ASSEMBLY CLAMP (Optional) (Includes items 12, 13 and 14)

1шт.

16

700712447

SHIELD

- outer

1шт.

17

80672C1

DECAL

- danger, rotating driveline

1шт.

18

1326528C1

DECAL

- danger, shield missing

1шт.

Выбрано товаров: 18