Запчасти Case IH 8580 (03-20) - PICKUP SHIELDS ASSEMBLY Pickup

Схема запчастей Case IH 8580 - (03-20) - PICKUP SHIELDS ASSEMBLY Pickup
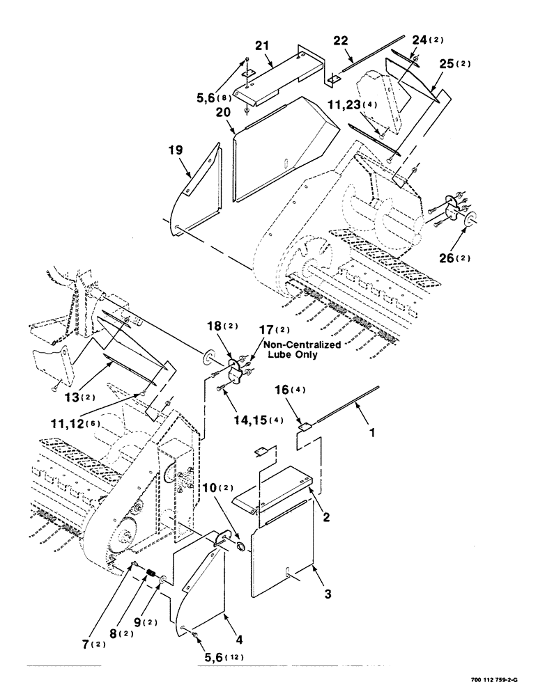
5
25
2
6
6
21
9
20
3
23
22
18
8
17
16
7
12
13
11
24
10
11
19
1
26
5
14
15
4
FIT
1:1
100%

Артикул

Название

Примечание

Количество

1

317818

PIN

HINGE - pin

1шт.

2

700114002

CHANNEL

- left

1шт.

3

700114004

SHIELD

- left

1шт.

4

700114000

SHIELD

- left

1шт.

5

256873

BOLT,Hex Serr, 5/16" - 18 x 1/2", 5SPL, Full Thd

20шт.

6

231-5145

SERRATED NUT,Flg, USR, 5/16"-18

NUT, Flg, USR, 5/16"-18

20шт.

7

7894975

CLIP

- fastener

2шт.

8

7758212

SPRING

- compression

2шт.

9

496-21034

WASHER,11/32" x 11/16" x 0.89", HDN

2шт.

10

7894967

HANDLE

- fastener

2шт.

11

433-512

CARRIAGE BOLT,Sq Nk, 5/16" - 18 x 3/4", Gr 5

10шт.

12

232-5315

FLANGE NUT,Flg, 5/16"-18

5/16-18 HFTLN GR/G

6шт.

13

700121498

STRAP

2шт.

14

426-824

BOLT,Hex, 1/2" - 13 x 1-1/2", Gr 8

4шт.

15

231-5348

FLANGE NUT,Flg, 1/2"-13

1/2-13 HFTLN GR/G

4шт.

16

700108658

SUPPORT

- hinge

4шт.

17

219-1

LUBE NIPPLE,1/8" - 27 NPTF

1/8-27 ZERK

2шт.

18

700113206

SUPPORT

- pickup

2шт.

19

700150653

SHIELD

- right

1шт.

20

700114005

SHIELD

- right

1шт.

21

700114003

CHANNEL

- right

1шт.

22

700114019

ROD

HINGE - pin, right

1шт.

23

230-4115

LOCK NUT,5/16"-18, GA

5/16-18 HTLN GR/B

4шт.

24

700121497

STRAP

2шт.

25

700709850

SHIELD

- belting

2шт.

26

740522

WASHER

1-1/2 X 10 GAUGE WRMB

2шт.

Выбрано товаров: 26