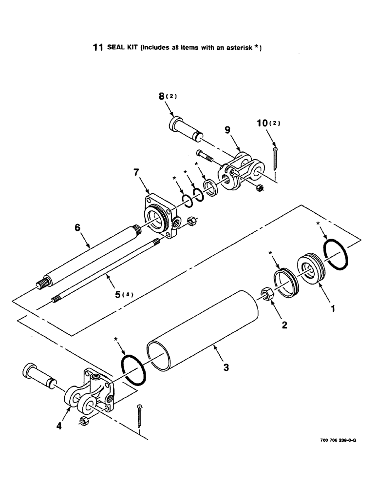
Запчасти Case IH 8580 (08-10) - HYDRAULIC CYLINDER ASSEMBLY, DENSITY CONTROL, 700706338 HYD. CYLINDER COMPLETE, 4" BORE X 16" STROKE (07) - HYDRAULICS

Схема запчастей Case IH 8580 - (08-10) - HYDRAULIC CYLINDER ASSEMBLY, DENSITY CONTROL, 700706338 HYD. CYLINDER COMPLETE, 4" BORE X 16" STROKE (07) - HYDRAULICS
5
1
4
3
10
8
11
9
7
2
6
FIT
1:1
100%

Артикул

Название

Примечание

Количество

700706338

HYDRAULIC CYLINDER,31.75mm Rod, 106.4mm Stroke

COMPLETE (4 Inch bore x 16 inch stroke)

2шт.

1

700708626

PISTON

1шт.

2

7036676

NUT

- piston

1шт.

3

B17240

TUBE

1шт.

4

B17282

BASE

- cylinder

1шт.

5

700707317

TIE-ROD

ROD - tie

4шт.

6

700707318

THREADED ROD

ROD

1шт.

7

B17270

HEAD

- cylinder

1шт.

8

427-16350

CLEVIS PIN,25.4mm OD x 88.9mm L

PIN - clevis

2шт.

9

T55022

CLEVIS

- rod

1шт.

10

432-1224

COTTER PIN,3/16" x 1-1/2"

3/16" x 1 1/2"

2шт.

11

700708625

SEAL KIT

1шт.

Выбрано товаров: 0