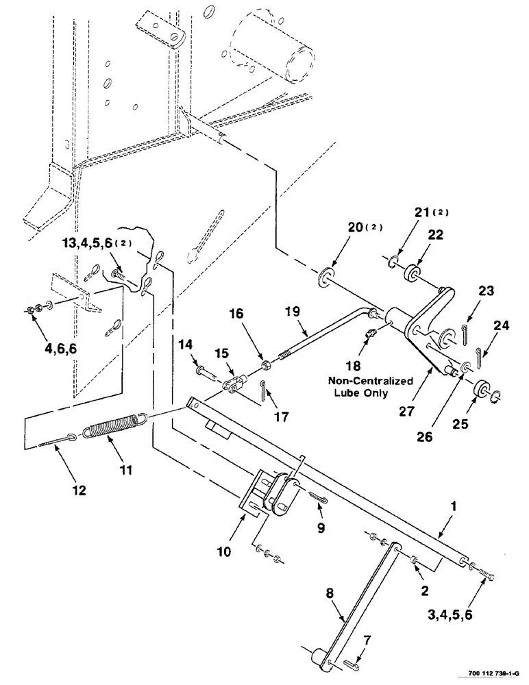
Запчасти Case IH 8580 (05-20) - STUFFER CLUTCH CONTROL ASSEMBLY (13) - FEEDER

Схема запчастей Case IH 8580 - (05-20) - STUFFER CLUTCH CONTROL ASSEMBLY (13) - FEEDER
6
11
3
26
4
21
9
25
5
5
20
2
7
4
4
13
16
18
17
22
8
6
10
1
6
19
12
6
15
27
23
14
24
FIT
1:1
100%

Артикул

Название

Примечание

Количество

1

700112872

ARM

WA - trip

1шт.

2

6179832

SPACER

1шт.

3

413-624

BOLT,Hex, 3/8" - 16 x 1-1/2", Gr 5

1шт.

4

496-11041

WASHER,13/32" x 13/16" x .065", HDN

3/8 HARDENED PLAIN WASHER

4шт.

5

492-11038

LOCK WASHER,3/8"

3шт.

6

425-106

NUT,3/8"-16, Cl 5

5шт.

7

61978

KEY

GIB KEY

1шт.

8

6524946

WIPER ARM

ARM WA - door

1шт.

9

432-1632

COTTER PIN,1/4" x 2"

Pin, Split (Cotter), 1/4" x 2"

1шт.

10

700112869

STOP

WA

1шт.

11

858308

SPRING

- extension

1шт.

12

766485

EYEBOLT,3/8" - 16 x 5", Full Thd

3/8 X 5 EYE BOLT

1шт.

13

433-620

CARRIAGE BOLT,Sq Nk, 3/8" - 16 x 1 1/4", Gr 5

BOLT, CARRIAGE, Short NK, 3/8"-16 x 1 1/4", G5

2шт.

14

427-8150

CLEVIS PIN,1/2" x 1 1/2"

1/2X1.500 1.281 HD/HOLE CLEVIS ZND

1шт.

15

66183

SHAFT

1шт.

16

425-108

NUT,1/2" - 13, Gr 5

NUT, , Hex 1/2"-13, G5

1шт.

17

432-816

COTTER PIN,1/8" x 1"

1/8" x 1"

1шт.

18

219-1

LUBE NIPPLE,1/8" - 27 NPTF

1/8-27 ZERK

1шт.

19

700112882

ROD

WA

1шт.

20

705574

WASHER,1 1/8" x 2" x .156", HDN

2шт.

21

100-1175

SNAP RING,#75, Ext

Ring, Snap, #75, Ext

2шт.

22

6525042

ROLLER,41.28mm OD x 12.5mm L

1шт.

23

432-1224

COTTER PIN,3/16" x 1-1/2"

3/16" x 1 1/2"

1шт.

24

62224

PIN, SPLIT (COTTER)

3/16 X 1 COTTER PIN

1шт.

25

6524870

ROLLER,41.28mm OD x 19mm L

1шт.

26

705541

WASHER,0.53" ID x 1.06" OD x 0.14" Thk

1/2 HARDENED PLAIN WASHER

1шт.

27

700112866

ARM

WA

1шт.

Выбрано товаров: 27