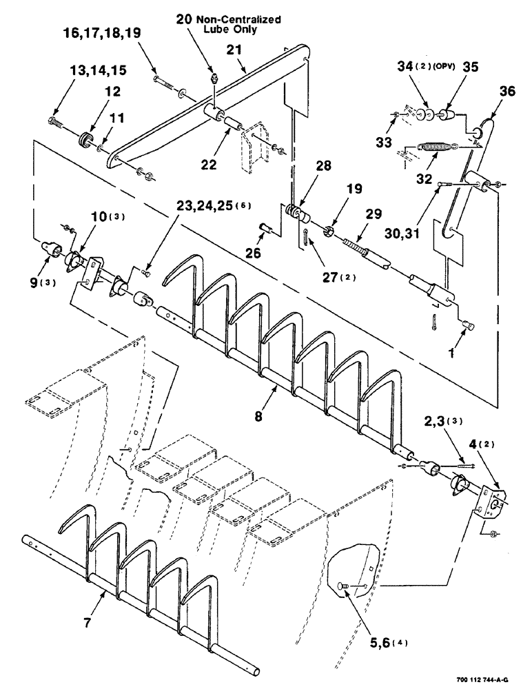
Запчасти Case IH 8580 (05-22) - HOLDING FINGER ASSEMBLY, STUFFER CHAMBER (13) - FEEDER

Схема запчастей Case IH 8580 - (05-22) - HOLDING FINGER ASSEMBLY, STUFFER CHAMBER (13) - FEEDER
18
14
24
30
10
11
17
35
23
13
6
9
26
36
16
3
21
4
22
5
33
2
15
20
27
25
12
1
34
7
32
19
31
28
29
19
8
FIT
1:1
100%

Артикул

Название

Примечание

Количество

1

427-8136

CLEVIS PIN,1/2" x 1.360"

1/2 X 1-1/4 CLEVIS PIN

1шт.

2

413-432

BOLT,Hex, 1/4" - 20 x 2", Gr 5

3шт.

3

232-4114

LOCK NUT,1/4"-20, GC

1/4-20 HTLN GR B

3шт.

4

6845507

BRACKET

2шт.

5

434-616

CARRIAGE BOLT,Sht Sq Nk, 3/8" - 16 x 1", Gr 5

3/8-16 X 1 RHSNB

4шт.

6

231-5146

FLANGE NUT,3/8"-16

4шт.

7

700112831

SEAL KIT

FINGER WA (S.N. CFH0026001 thru CFH0026657)

1шт.

8

700122691

FINGER

WA (S.N. CFH0025658 and later)

1шт.

9

6105159

NYLON BEARING,1.75"

BEARING - tine

3шт.

10

6105621

FLANGE

HOUSING - bearing

3шт.

11

52233

BUSHING

5/8 X 14 GAUGE NRMB

1шт.

12

667925R91

ROLLER BEARING,0.628" ID x 2" OD x 15 mm

1шт.

13

413-1028

BOLT,Hex, 5/8" - 11 x 1-3/4", Gr 5

5/8-11 X 1-3/4 C

1шт.

14

492-11062

BEARING WASHER,5/8"

WASHER, LOCK, 5/8"

1шт.

15

425-1010

NUT,5/8"-11, G5

1шт.

16

413-848

BOLT,Hex, 1/2" - 13 x 3", Gr 5

1/2-13 X 3 C

1шт.

17

495-21056

WASHER,1/2"

1/2 WIDE PLAIN WASHER

1шт.

18

80679

LOCK WASHER,1/20.507 CST ZND

WASHER, LOCK, 1/2"

1шт.

19

425-108

NUT,1/2" - 13, Gr 5

NUT, , Hex 1/2"-13, G5

2шт.

20

219-1

LUBE NIPPLE,1/8" - 27 NPTF

1/8-27 ZERK

1шт.

21

700112833

LEVER

WA

1шт.

22

R37265

SPACER

- bushing

1шт.

23

413-512

BOLT,Hex, 5/16" - 18 x 3/4", Gr 5

C Hex, 5/16"-18 x 3/4", G5, Full Thd

6шт.

24

492-11031

LOCK WASHER,5/16"

WASHER, LOCK, 5/16"

6шт.

25

425-105

NUT,5/16"-18, G5

6шт.

26

427-8150

CLEVIS PIN,1/2" x 1 1/2"

1/2X1.500 1.281 HD/HOLE CLEVIS ZND

1шт.

27

432-816

COTTER PIN,1/8" x 1"

1/8" x 1"

2шт.

28

066183

CLEVIS

1/2-13 CLEVIS

1шт.

29

6845630

CONNECTING ROD

ROD WA - connecting

1шт.

30

413-840

BOLT,Hex, 1/2" - 13 x 2-1/2", Gr 5

1/2-13 X 2-1/2 C (S.N. CFH0026001 thru CFH0026657)

1шт.

700706548

HEX SOC SCREW

1/2-13 X 2-1/4 HSHCS (S.N. CFH0026658 and later)

1шт.

31

230-4118

LOCK NUT,1/2"-13, GA

1/2-13 HTLN GR/B

1шт.

32

700714987

SPRING

- extension

1шт.

33

230-4715

LOCK NUT,5/16"-24, GA

NUT, LOCK, 5/16"-24, GA

1шт.

34

700710049

WASHER

- 3/8 fender, P

2шт.

35

827568

BUMPER

- rubber

1шт.

36

700112836

ARM

WA (S.N. CFH0026001 thru CFH0026657) superseded by 700123488 and 700706548

1шт.

700123488

ARM

WA (S.N. CFH0026658 and later)

1шт.

Выбрано товаров: 38