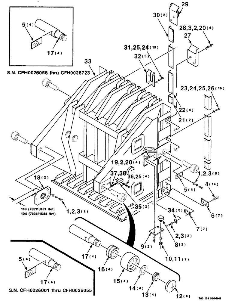
Запчасти Case IH 8580 (05-26) - PLUNGER, HEAD PLATES AND ROLLERS ASSEMBLY (13) - FEEDER

Схема запчастей Case IH 8580 - (05-26) - PLUNGER, HEAD PLATES AND ROLLERS ASSEMBLY (13) - FEEDER
2
34
1
35
32
3
24
29
3
31
23
9
5
28
2
15
25
7
17
18
35
12
20
24
14
25
1
4
11
3
5
17
33
16
22
17
2
20
13
19
25
37
30
21
2
5
26
3
27
83
10
6
8
2
FIT
1:1
100%

Артикул

Название

Примечание

Количество

1

413-820

BOLT,Hex, 1/2" - 13 x 1-1/4", Gr 5

10шт.

2

80679

LOCK WASHER,1/20.507 CST ZND

WASHER, LOCK, 1/2"

20шт.

3

705541

WASHER,0.53" ID x 1.06" OD x 0.14" Thk

1/2 HARDENED PLAIN WASHER

16шт.

4

61-46224

HEX SOC SCREW,FLAT, 5/8" x 1-1/2"

5/8-11 X 1-1/2 HSFCHCS SPL

14шт.

5

700113174

COVER PLATE

PLATE (S.N. CFH0026001 thru CFH0026055) mating part 700113169 shaft

4шт.

700113166

COVER PLATE

PLATE (S.N. CFH0026056 thru CFH0026723) mating part 700113165

4шт.

700124022

COVER PLATE

PLATE (S.N. CFH0026724 and later) mating part 700124026 shaft

4шт.

6

700113188

KNIFE

7шт.

7

700113189

BAR

7шт.

8

7713829

BEARING ASSY,19.56 mm ID x 63.75 mm OD

2шт.

9

700113176

COVER PLATE

PLATE

2шт.

10

492-11075

LOCK WASHER,3/4"

3/4"

2шт.

11

425-1112

NUT,3/4"-16, G5

3/4-16 H

2шт.

12

378814R1

CAP

- hub

4шт.

13

700113171

NUT

1-5/16-18 STAKE NUT

4шт.

14

700706125

WASHER,33.86mm ID x 55.19mm OD x 3.17mm Thk

- tongued

4шт.

15

700113170

ROLLER,90.13mm OD x 51mm L

4шт.

16

700706124

BEARING ASSY,34.94mm ID x 65.11mm OD x 40.08mm W

BEARING ASSEMBLY

4шт.

17

700113169

SHAFT

(S.N. CFH0026001 thru CFH0026055 superseded by 700113165 & 700113166)

4шт.

700113165

SHAFT

(S.N. CFH0026056 thru CFH0026723)

4шт.

700124026

SHAFT

(S.N. CFH0026724 and later)

4шт.

18

700113151

SUPPORT

WA (S.N. CFH0026001 thru CFH0026135)

2шт.

700121644

SUPPORT

WA (S.N. CFH0026136 and later)

2шт.

19

433-820

CARRIAGE BOLT,Sq Nk, 1/2" - 13 x 1 1/4", Gr 5

1/2-13 X 1-1/4 RHSNB

4шт.

20

425-108

NUT,1/2" - 13, Gr 5

NUT, , Hex 1/2"-13, G5

8шт.

21

700113186

ANGLE

2шт.

22

700113185

ANGLE

4шт.

23

434-616

CARRIAGE BOLT,Sht Sq Nk, 3/8" - 16 x 1", Gr 5

3/8-16 X 1 RHSNB

16шт.

24

496-11041

WASHER,13/32" x 13/16" x .065", HDN

3/8 HARDENED PLAIN WASHER

31шт.

25

492-11038

LOCK WASHER,3/8"

35шт.

26

425-106

NUT,3/8"-16, Cl 5

16шт.

27

700113177

ANTI-WRAP PLATE

PLATE WA - left

1шт.

28

433-816

CARRIAGE BOLT,Sq Nk, 1/2" - 13 x 1", Gr 5

1/2-13 X 1 RHSNB

4шт.

29

700113178

ANTI-WRAP PLATE

PLATE WA - right

1шт.

30

700113184

ANGLE

2шт.

31

413-616

BOLT,Hex, 3/8" - 16 x 1", Gr 5

15шт.

32

700113187

ANTI-WRAP PLATE

PLATE

5шт.

33

700113106

PLUNGER

WA (S.N. CFH0026001 thru CFH0026135) superseded by 700121641, 700121644 & 700121646 (2)

1шт.

700121641

PLUNGER

WA (S.N. CFH0026724 and later)

1шт.

34

700124027

COVER PLATE

PLATE PUSHER (S.N. CFH0026724 and later)

2шт.

35

700124023

BLOCK

(S.N. CFH0026724 and later)

2шт.

36

413-628

BOLT,Hex, 3/8" - 16 x 1-3/4", Gr 5

4шт.

37

413-620

BOLT,Hex, 3/8" - 16 x 1-1/4", Gr 5

C Hex, 3/8"-16 x 1 1/4", G5, Full Thd

1шт.

38

425-146

JAM NUT,3/8" - 16, Gr 5

3/8-16 HJN GR2

1шт.

Выбрано товаров: 0