Качественные детали и логистика
Оригинальные и аналоговые запчасти с доставкой по России, Казахстану и Беларуси
©2022 PartSell ООО "Система" ИНН 2463123282 ОГРН 1212400004838
Центральный офис: г. Красноярск, Академика Киренского, д.87, пом.4
Телефон: 8 (800) 777-65-74 Email: zakaz@partsell.ru
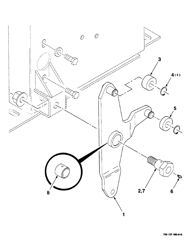
(6-26) - KNOTTER ARM ASSEMBLY
№
Артикул
Название
Примечание
Количество
1
700137490
ARM
WA
1шт.
2
232-53112
FLANGE NUT,Flg, 3/4"-10
3/4-10 HFTLN GR/G
3
700124056
ROLLER
- clutch
4
100-1175
SNAP RING,#75, Ext
Ring, Snap, #75, Ext
2шт.
5
6525042
ROLLER,41.28mm OD x 12.5mm L
6
219-8
LUBE NIPPLE,1/4" - 28 NPTF
NIPPLE, LUBE, 1/4"-28 NPT x .54" lg
7
700137491
BOLT
- special
8
B18254
NEEDLE BEARING,Needle, 25.4mm ID x 31.75mm OD x 25.4mm W
BEARING
Выбрано товаров: 0