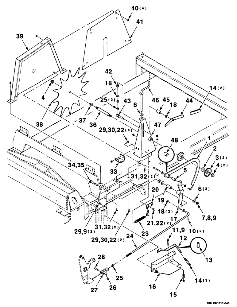
Запчасти Case IH 8585 (6-28) - STARWHEEL ASSEMBLY (14) - BALE CHAMBER

Схема запчастей Case IH 8585 - (6-28) - STARWHEEL ASSEMBLY (14) - BALE CHAMBER
18
5
27
29
23
29
13
9
8
12
15
31
32
34
42
28
21
48
18
30
45
31
44
22
9
1
22
43
6
24
2
25
17
18
19
41
30
16
33
35
20
14
4
11
7
6
3
46
38
25
26
37
14
32
29
22
47
40
39
36
9
4
10
FIT
1:1
100%

Артикул

Название

Примечание

Количество

1

700123857

ARM

WA - trip (Includes item 48)

1шт.

2

6530489

HUB

SPACER - hub

1шт.

3

700123850

SHIELD

- wheel

2шт.

4

232-53110

FLANGE NUT,Flg, 5/8"-11

5/8-11 HFTLN GR/G

3шт.

5

700109003

BUSHING

1шт.

6

700711557

WASHER

1/2 HARDENED WIDE PLAIN WASHER

1шт.

7

413-644

BOLT,Hex, 3/8" - 16 x 2-3/4", Gr 5

C Hex, 3/8"-16 x 2 3/4", G5

1шт.

8

496-81010

WASHER

3/8 HARDENED WIDE PLAIN WASHER

1шт.

9

232-5316

FLANGE NUT,Flg, 3/8"-16

3/8-16 HFTLN GR/G

4шт.

10

432-1016

COTTER PIN,5/32" x 1"

5/32" x 1"

2шт.

11

7702079

SCREW

3/8-16 X 2-1/2 HFS GR8

1шт.

12

700129686

LEVER

ASSEMBLY (Includes item 13)

1шт.

13

38-11608

LOCK PIN,1/4" x 1/2", Slotted

PIN, LOCK, 1/4" x 1/2", Slotted

1шт.

14

827360

HANDLE

GRIP

5шт.

15

58644

SPRING

- compression

1шт.

16

700129689

SUPPORT

- lever

1шт.

17

700123852

ARM

WA

1шт.

18

495-21056

WASHER,1/2"

1/2 HARDENED PLAIN WASHER

4шт.

19

6621825

SPACER

1шт.

20

700134937

SUPPORT

- spring

1шт.

21

433-612

CARRIAGE BOLT,Sq Nk, 3/8" - 16 x 3/4", Gr 5

2шт.

22

329-286

FLANGE NUT,Flg, 3/8"-16, G8

8шт.

23

758441

SPRING

- extension

1шт.

24

700123860

ROD

- starwheel

1шт.

25

425-108

NUT,1/2" - 13, Gr 5

NUT, , Hex 1/2"-13, G5

3шт.

26

432-816

COTTER PIN,1/8" x 1"

1/8" x 1"

1шт.

27

066183

CLEVIS

1/2-13 THD, .500 hole

1шт.

28

427-8150

CLEVIS PIN,1/2" x 1 1/2"

1/2X1.500 1.281 HD/HOLE CLEVIS ZND

1шт.

29

434-616

CARRIAGE BOLT,Sht Sq Nk, 3/8" - 16 x 1", Gr 5

3/8-16 X 1 RHSNB

8шт.

30

496-11041

WASHER,13/32" x 13/16" x .065", HDN

3/8 HARDENED PLAIN WASHER

6шт.

31

433-512

CARRIAGE BOLT,Sq Nk, 5/16" - 18 x 3/4", Gr 5

4шт.

32

231-5145

SERRATED NUT,Flg, USR, 5/16"-18

NUT, Flg, USR, 5/16"-18

4шт.

33

700134449

ANGLE

- support

1шт.

34

111-505

CARRIAGE BOLT,Short NK, 1/2"-13 x 3 1/2", G5

BOLT, CARRIAGE, Short NK, 1/2"-13 x 3 1/2", G5

1шт.

35

231-5348

FLANGE NUT,Flg, 1/2"-13

1/2-13 HFTLN GR/G

1шт.

36

700123855

SHAFT

- starwheel

1шт.

37

396-21066

WASHER,16.66mm ID x 33.33mm OD x 4.27mm Thk

- 5/8" bolt size 21/32" x 1 5/16" x .150", HDN

1шт.

38

700123856

SPROCKET ASSY.

STARWHEEL

1шт.

39

700133189

SHIELD

WA - starwheel

1шт.

40

256873

BOLT,Hex Serr, 5/16" - 18 x 1/2", 5SPL, Full Thd

4шт.

41

700133188

SHIELD

COVER - starwheel

1шт.

42

58024

SPRING

- compression

1шт.

43

700134527

SHAFT

- adjust, bale length

1шт.

44

700134935

LEVER

1шт.

45

6234710

SPACER

1шт.

46

700134938

CRANKED HANDLE

CRANK WA - bale length

1шт.

47

700134931

BRACKET

WA - starwheel

1шт.

48

6176655

BUSHING

1шт.

Выбрано товаров: 48