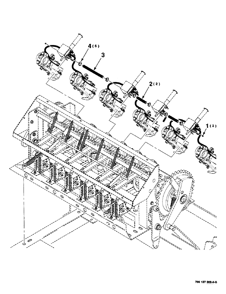
Запчасти Case IH 8585 (6-36) - KNOTTER LUBE ASSEMBLY (14) - BALE CHAMBER

Схема запчастей Case IH 8585 - (6-36) - KNOTTER LUBE ASSEMBLY (14) - BALE CHAMBER
3
2
4
1
FIT
1:1
100%

Артикул

Название

Примечание

Количество

1

217-430

PLUG,Hex Soc, 1/8" - 27 NPTF

1/8 PIPE PLUG

2шт.

2

526602R2

HYDRAULIC HOSE,0.55" ID x 12.00"

0.55" ID x 12.00"

2шт.

3

526602R2

HYDRAULIC HOSE,0.55" ID x 12.00"

0.55" ID x 12.00"

1шт.

4

214-1410

HOSE CLAMP,#10, 0.56" - 1.06", Type F Worm

CLAMP, HOSE, #10, 0.56/1.06 Type F Worm

6шт.

Выбрано товаров: 0