Запчасти Case IH 8585 (2-02) - TONGUE, HITCH, JACK AND SAFETY CHAIN ASSEMBLIES Driveline

Схема запчастей Case IH 8585 - (2-02) - TONGUE, HITCH, JACK AND SAFETY CHAIN ASSEMBLIES Driveline
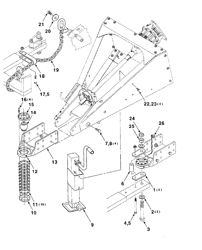
1
4
18
16
13
14
26
3
7
2
9
23
25
20
15
19
8
10
6
22
21
12
24
17
11
5
5
FIT
1:1
100%

Артикул

Название

Примечание

Количество

700114078

KIT

BOX OF PARTS COMPLETE

1шт.

1

1663161

PLATE

- hitch

2шт.

2

495-21138

WASHER,1 1/4"

1-1/4 HARDENED PLAIN WASHER

2шт.

3

700124041

BOLT

- special

1шт.

4

426-10120

BOLT,Hex, 5/8" - 11 x 7-1/2", Gr 8

5/8-11 X 7-1/2 C GR8

1шт.

5

700711198

LOCK NUT

5/8-11 HFTLN GR/G ZP&O

2шт.

6

1663162

SPACER,19.84mm ID x 45mm OD x 90mm L

1шт.

7

700706419

SCREW

3/4-10 X 2 C GR8 NP

4шт.

8

232-53112

FLANGE NUT,Flg, 3/4"-10

3/4-10 HFTLN GR/G

4шт.

9

700720014

JACK

ASSEMBLY

1шт.

10

1663158

RING

- hitch, lower

1шт.

11

1663163

SHIM

10шт.

12

219-8

LUBE NIPPLE,1/4" - 28 NPTF

NIPPLE, LUBE, 1/4"-28 NPT x .54" lg

1шт.

13

700137755

HITCH ASSY

HITCH WA

1шт.

14

1663159

BALL

- hitch

1шт.

15

1663157

RING

- hitch, upper

1шт.

16

61-33832

HEX SOC SCREW,3/8 - 16 x 2"

3/8-16 X 2 HSHCS SPL

8шт.

17

413-1060

BOLT,Hex, 5/8" - 11 x 3-3/4", Gr 5

5/8-11 X 3-3/4 C

1шт.

18

700113646

CLEVIS

- safety chain

1шт.

19

700706807

CHAIN

- safety

1шт.

20

700122210

WASHER

1шт.

21

8701039

BOLT

1-8 X 2 C

1шт.

22

700710984

SCREW,Hex Flg, 1/2" x 1 1/4", G8 NC

1/2-13 X 1-1/4 HFS GR8

2шт.

23

231-5348

FLANGE NUT,Flg, 1/2"-13

1/2-13 HFTLN GR/G

2шт.

24

425-1420

JAM NUT,Jam, 1 1/4"-7, G5

1-1/4-7 HJN GR2

1шт.

25

425-1020

NUT,1 1/4"-7, G5

1-1/4-7 H

1шт.

26

762260

PIN

- klick, w/chain

1шт.

Выбрано товаров: 27