Запчасти Case IH 8585 (2-10) - IMPLEMENT DRIVELINE ASSEMBLY, TYPE 3, 1-3/4" DIAMETER X 20 SPLINE Driveline

Схема запчастей Case IH 8585 - (2-10) - IMPLEMENT DRIVELINE ASSEMBLY, TYPE 3, 1-3/4" DIAMETER X 20 SPLINE Driveline
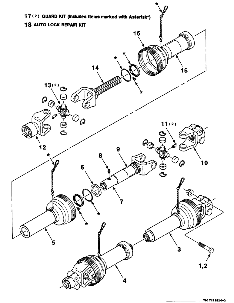
5
3
14
15
16
6
8
12
7
1
2
4
13
18
9
11
10
17
FIT
1:1
100%

Артикул

Название

Примечание

Количество

1

326-1048

BOLT,Hex, 5/8" - 11 x 3", Gr 8

1шт.

2

700711198

LOCK NUT

5/8-11 HFTLN GR/G ZP&O

1шт.

3

700715824

REAR PTO ASSY

U-JOINT ASSEMBLY - half, implement

1шт.

4

700720111

PTO

U-JOINT ASSEMBLY - half, tractor

1шт.

5

700715826

SHIELD

- inner

1шт.

6

700715820

CENTRALIZER

1шт.

7

700715827

UNIVERSAL JOINT

YOKE AND TUBE

1шт.

8

219-410

LUBE NIPPLE,3/16" NPTF

1шт.

9

80672C1

DECAL

- danger, rotating driveline

1шт.

10

700712517

YOKE

- splined, clamp

1шт.

11

219-40

LUBE NIPPLE,65 Degree Elbow, 1/8" - 27 NPTF

1/8-27 X 65° ZERK

2шт.

12

700720113

FORK

YOKE - auto lock

1шт.

13

470077R91

BEARING ASSY,1.025" ID x 1.5325" OD x 4.309"

CROSS AND BEARING KIT

2шт.

14

8802613

SHAFT

YOKE AND SHAFT

1шт.

15

700715825

SHIELD

- outer

1шт.

16

1326528C1

DECAL

- danger, shield missing

1шт.

17

700715022

KIT

GUARD KIT

2шт.

18

700720044

KIT

AUTO LOCK REPAIR KIT

1шт.

Выбрано товаров: 18