Запчасти Case IH 8585 (3-08) - PICKUP ASSEMBLY, LEFT Pickup

Схема запчастей Case IH 8585 - (3-08) - PICKUP ASSEMBLY, LEFT Pickup
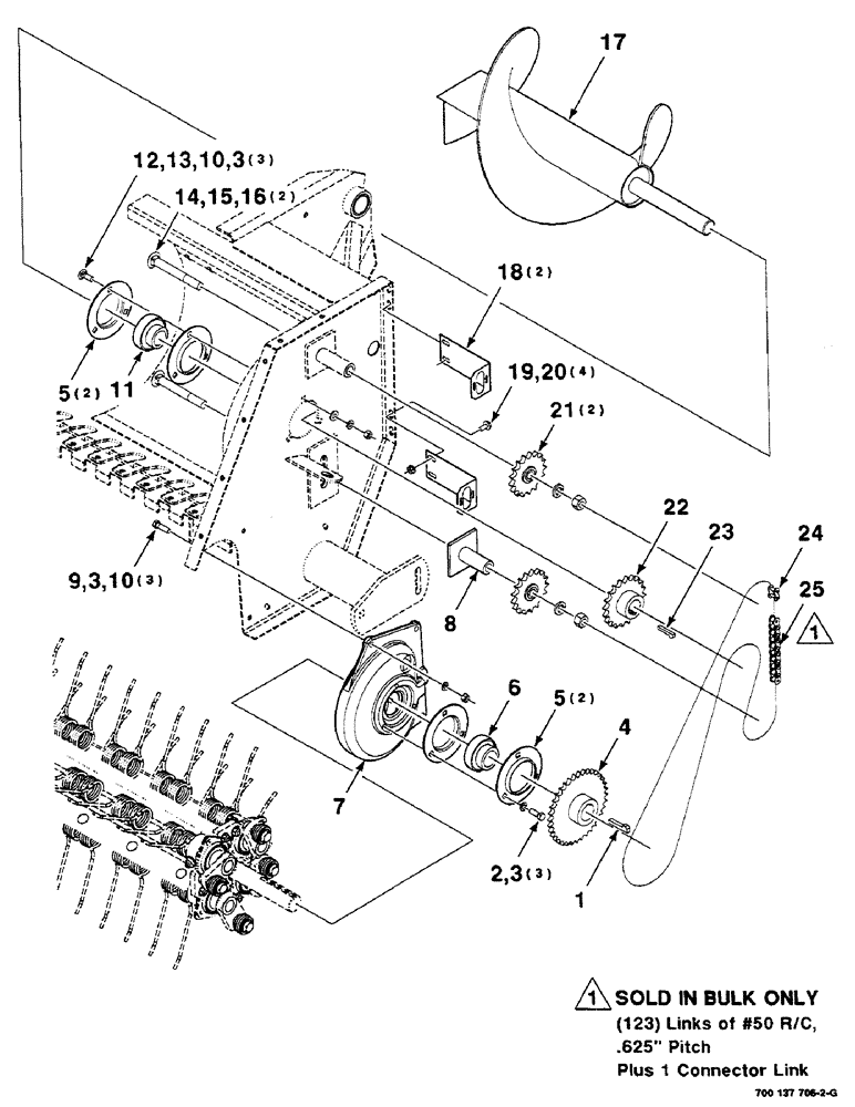
7
10
25
5
1
20
18
14
6
12
4
24
13
17
22
19
2
8
3
11
10
16
9
3
23
21
3
15
5
FIT
1:1
100%

Артикул

Название

Примечание

Количество

1

Q3929

KEY,Gib, 5/16" Sq x 1 1/2"

5/16 X 1-1/2 KEY - gib

1шт.

2

413-616

BOLT,Hex, 3/8" - 16 x 1", Gr 5

3шт.

3

492-11038

LOCK WASHER,3/8"

9шт.

4

700123773

SPROCKET ASSY.

SPROCKET WA - 50B30

1шт.

5

617863R1

FLANGED BEARING

- bearing

4шт.

6

700708091

SPHERICAL BEARING,34.93 mm ID x 72 mm OD x 38.89 mm

BEARING - spherical

1шт.

7

700137751

HOUSING ASSY.

CAMTRACK - left

1шт.

8

700108636

SUPPORT

WA

1шт.

9

413-620

BOLT,Hex, 3/8" - 16 x 1-1/4", Gr 5

C Hex, 3/8"-16 x 1 1/4", G5, Full Thd

3шт.

10

425-106

NUT,3/8"-16, Cl 5

6шт.

11

51292

SPHERICAL BEARING,1.25" ID x 72 mm OD x 19 mm

- spherical

1шт.

12

434-616

CARRIAGE BOLT,Sht Sq Nk, 3/8" - 16 x 1", Gr 5

3/8-16 X 1 RHSNB

3шт.

13

496-11041

WASHER,13/32" x 13/16" x .065", HDN

3/8 HARDENED PLAIN WASHER

3шт.

14

433-1080

CARRIAGE BOLT,Sq Nk, 5/8" - 11 x 5", Gr 5

5/8-11 X 5 RHSNB

3шт.

15

492-11062

BEARING WASHER,5/8"

WASHER, LOCK, 5/8"

2шт.

16

425-1010

NUT,5/8"-11, G5

2шт.

17

700137718

AUGER

WA - left

1шт.

18

700133129

SUPPORT

- latch

2шт.

19

121-115

SERRATED BOLT,Hex, 5/16" - 18 x 3/4"

4шт.

20

231-5145

SERRATED NUT,Flg, USR, 5/16"-18

NUT, Flg, USR, 5/16"-18

4шт.

21

211623C91

SPROCKET

IDLER - sprocket

2шт.

22

86439

SPROCKET ASSY.

SPROCKET WA

1шт.

23

61424

KEY

1/4 X 1-1/4 KEY - gib

1шт.

24

47530

LINK, CONNECTING

LINK - connector #50 R/C

1шт.

25

1791D

CHAIN (AG),#50, 192 Links x 15.88mm = 3048mm

CHAIN - roller #50 (10 foot bulk)

1шт.

Выбрано товаров: 25