Запчасти Case IH 8585 (3-22) - PICKUP SHIELDS ASSEMBLY, RIGHT Pickup

Схема запчастей Case IH 8585 - (3-22) - PICKUP SHIELDS ASSEMBLY, RIGHT Pickup
11
26
12
9
12
8
11
15
23
24
13
5
27
7
19
13
8
11
3
16
11
18
4
1
10
6
25
17
12
11
2
21
14
20
22
FIT
1:1
100%

Артикул

Название

Примечание

Количество

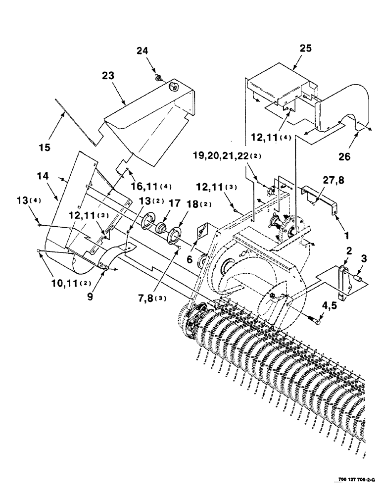
1

700137763

SUPPORT

1шт.

2

700123808

PIVOT

WA - cylinder

1шт.

3

700113281

SPACER

1шт.

4

413-1248

BOLT,Hex, 3/4" - 10 x 3", Gr 5

.75 X 3 UNC GR5 YZD

1шт.

5

230-41112

LOCK NUT,3/4"-10, GA

3/4-10 HTLN GRB

1шт.

6

700711095

DECAL

- drive, right

1шт.

7

433-612

CARRIAGE BOLT,Sq Nk, 3/8" - 16 x 3/4", Gr 5

3шт.

8

329-286

FLANGE NUT,Flg, 3/8"-16, G8

4шт.

9

700137765

COVER

WRAPPER - right

1шт.

10

433-512

CARRIAGE BOLT,Sq Nk, 5/16" - 18 x 3/4", Gr 5

2шт.

11

231-5145

SERRATED NUT,Flg, USR, 5/16"-18

NUT, Flg, USR, 5/16"-18

16шт.

12

121-115

SERRATED BOLT,Hex, 5/16" - 18 x 3/4"

10шт.

13

409-7512

BOLT,Hex Flg, 5/16" - 18 x 3/4", Spcl

Hex Flg, 5/16-18 x 3/4", Serr

10шт.

14

700137767

PANEL

WA - right

1шт.

15

6844344

PIN

- hinge

1шт.

16

413-58

BOLT,Hex, 5/16" - 18 x 1/2", Gr 5

5/16-18 X 1/2 C

4шт.

17

51292

SPHERICAL BEARING,1.25" ID x 72 mm OD x 19 mm

- spherical

1шт.

18

617863R1

FLANGED BEARING

- bearing

2шт.

19

340-1108

SCREW,Cross Pan Hd, #10-24 x 1/2"

#10-24 X 1/2 CRPHMS GR60M

2шт.

20

195-513

WASHER,#10

PLAIN WASHER #10

2шт.

21

492-11010

LOCK WASHER,#10

WASHER, LOCK, #10

2шт.

22

225-14110

NUT,#10-24

2шт.

23

700133121

SHIELD

- right

1шт.

24

700714706

LATCH

- 90° turn (Includes nut)

1шт.

25

700137764

SHIELD

1шт.

26

700137898

SHIELD

1шт.

27

434-616

CARRIAGE BOLT,Sht Sq Nk, 3/8" - 16 x 1", Gr 5

3/8-16 X 1 RHSNB

1шт.

Выбрано товаров: 27