Качественные детали и логистика
Оригинальные и аналоговые запчасти с доставкой по России, Казахстану и Беларуси
©2022 PartSell ООО "Система" ИНН 2463123282 ОГРН 1212400004838
Центральный офис: г. Красноярск, Академика Киренского, д.87, пом.4
Телефон: 8 (800) 777-65-74 Email: zakaz@partsell.ru
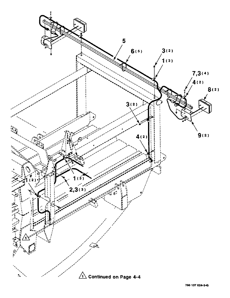
(4-06) - ROAD LIGHT ASSEMBLY, (CONT)
№
Артикул
Название
Примечание
Количество
1
515-2395
CLAMP,3/8", Insul, 3/8" Bolt
8шт.
2
409-7612
BOLT,3/8"-16 x 1.09" OAL
3/8-16 X 3/4 HWHMS
3шт.
3
329-286
FLANGE NUT,Flg, 3/8"-16, G8
11шт.
4
515-25127
CLAMP,1/2", Insul, 1/2" Bolt
4шт.
5
700138066
SUPPORT
- light
1шт.
6
L18337
CABLE TIE,9.95"-12.1" lg
STRAP - tie, 15 inch, nylon
5шт.
7
413-628
BOLT,Hex, 3/8" - 16 x 1-3/4", Gr 5
8
700716461
TAIL LAMP
LIGHT - tail
2шт.
9
700133748
COVER PLATE
PLATE - light
Выбрано товаров: 0