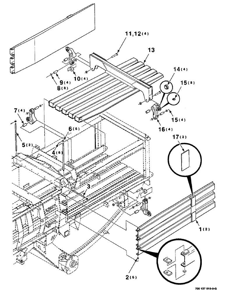
Запчасти Case IH 8585 (7-04) - BALE DENSITY DOOR AND ARM ASSEMBLIES (12) - MAIN FRAME

Схема запчастей Case IH 8585 - (7-04) - BALE DENSITY DOOR AND ARM ASSEMBLIES (12) - MAIN FRAME
14
9
10
16
12
7
13
2
5
11
4
15
15
3
1
17
8
6
FIT
1:1
100%

Артикул

Название

Примечание

Количество

1

700123700

DOOR

WA - side (Includes item 17)

2шт.

2

95-81182

WASHER,0.81" ID x 1.25" OD x 0.07" Thk

3/4 X 14 GAUGE NRMB

6шт.

3

6529432

PIN

- top

1шт.

4

432-1620

COTTER PIN,1/4" x 1 1/4"

Pin, Split (Cotter), 1/4" x 1 1/4"

6шт.

5

700123709

PIN

- side

2шт.

6

705566

WASHER

3/4 HARDENED PLAIN WASHER

6шт.

7

6529408

BUSHING

4шт.

8

103-16125

SNAP RING,#125, Ext

Ring, Snap, #125, Ext

8шт.

9

700113615

PIN

4шт.

10

700113614

ROLLER

4шт.

11

7702046

BOLT

1/8 X 5 C

4шт.

12

232-41116

LOCK NUT,1"-8, GC

NUT, LOCK, 1"-8, GC

4шт.

13

700137423

DOOR

WA - upper

1шт.

14

D22200

BEARING,25.4mm ID x 36.5mm OD x 22.23mm L

BUSHING

4шт.

15

219-8

LUBE NIPPLE,1/4" - 28 NPTF

NIPPLE, LUBE, 1/4"-28 NPT x .54" lg

12шт.

16

700137425

ARM

ASSEMBLY (Includes item 14 and 15)

4шт.

17

700123706

LARGE PLATE

PLATE

2шт.

Выбрано товаров: 17