Запчасти Case IH 8585 (7-06) - FRONT SHIELDS AND IDL ASSEMBLIES (12) - MAIN FRAME

Схема запчастей Case IH 8585 - (7-06) - FRONT SHIELDS AND IDL ASSEMBLIES (12) - MAIN FRAME
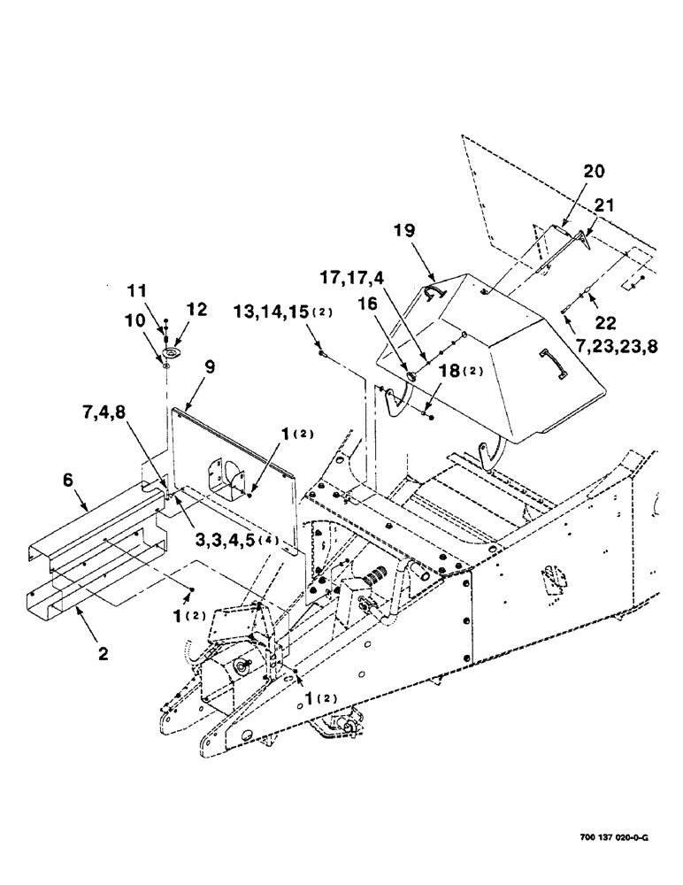
1
15
10
1
22
4
17
8
3
4
7
7
3
19
16
8
23
4
11
21
17
5
14
13
1
20
23
2
6
9
12
18
FIT
1:1
100%

Артикул

Название

Примечание

Количество

1

256873

BOLT,Hex Serr, 5/16" - 18 x 1/2", 5SPL, Full Thd

6шт.

2

700137982

SHIELD

ASM-IDL COVER

1шт.

3

433-512

CARRIAGE BOLT,Sq Nk, 5/16" - 18 x 3/4", Gr 5

8шт.

4

496-21034

WASHER,11/32" x 11/16" x 0.89", HDN

6шт.

5

231-5145

SERRATED NUT,Flg, USR, 5/16"-18

NUT, Flg, USR, 5/16"-18

4шт.

6

700137906

SHIELD

-IDL

1шт.

7

413-528

BOLT,Hex, 5/16" - 18 x 1-3/4", Gr 5

2шт.

8

232-5315

FLANGE NUT,Flg, 5/16"-18

5/16-18 HFTLN GR/G

2шт.

9

700137985

SHIELD

WA - panel

1шт.

10

700709866

WASHER

- washer, camloc

1шт.

11

758342

CABLE

- compression

1шт.

12

700137803

COVER

SHIELD - cover

1шт.

13

121-237

SERRATED BOLT,Hex, 3/8" - 16 x 1 1/4, Spcl

3/8-16 X 1-1/4 HFS GR8

2шт.

14

496-11041

WASHER,13/32" x 13/16" x .065", HDN

3/8 HARDENED PLAIN WASHER

2шт.

15

232-5316

FLANGE NUT,Flg, 3/8"-16

3/8-16 HFTLN GR/B

2шт.

16

700707234

BUTTON

KNOB - female

1шт.

17

425-105

NUT,5/16"-18, G5

2шт.

18

6270888

BUSHING

2шт.

19

700138104

SHIELD

WA

1шт.

20

7758915

SPRING

- extension

1шт.

21

700137990

SHAFT

WA - latch

1шт.

22

190123C1

SPACER,1/2" Tube x 1"

1шт.

23

495-61034

WASHER,0.34" ID x 0.88" OD x 0.06" Thk

5/16 WIDE PLAIN WASHER

2шт.

Выбрано товаров: 23